EasyManua.ls Logo

Torin T93007 - Page 23

Torin T93007
46 pages
Print Icon
To Next Page IconTo Next Page
To Next Page IconTo Next Page
To Previous Page IconTo Previous Page
To Previous Page IconTo Previous Page
Loading...
23
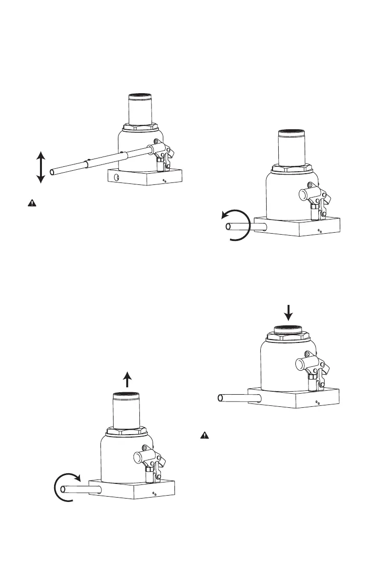
8. Pompez le levier pour effectuer le levage jusqu ‘à
ce que la sellette entre en contact avec la charge.
Continuez de pomper le levier pour soulever le
véhicule à la hauteur voulue . Après avoir effectué
le levage, supportez toujours la charge à l’aide
de chandelles de levage de capacité sufsante
avant de travailler sur le véhicule.
MISE EN GARDE :
NE JAMAIS CÂBLER,
RETENIR OU AUTREMENT METTRE HORS
D’ÉTAT LE ROBINET DE COMMANDE
DE LEVAGE POUR QU’IL FONCTIONNE
D’AUTRES MANIÈRES QU’À L’AIDE DE
LA MAIN DE L’OPÉRATEUR. UTILISER LE
LEVIER FOURNI AVEC CE PRODUIT OU UN
LEVIER DE RECHANGE AUTORISÉ AFIN
D’ASSURER LE BON FONCTIONNEMENT
DE LA SOUPAPE DE SÉCURITÉ. NE PAS
UTILISER DE RALLONGES SUR LE FLEXIBLE
D’AIR OU SUR LE LEVIER.
ABAISSEMENT DU CRIC
1. Soulevez la charge assez haut pour permettre de
dégager les chandelles et les retirer, puis enlevez
avec précaution les chandelles de levage.
2. Retirez les chandelles de levage.
3. Saisissez le levier fermement à l’aide des deux
mains. Tenez fermement le levier du cric an
que vos mains ne glissent pas et assurez-vous
que la soupape de sécurité ne s’abaisse pas
rapidement.
4. Ouvrez prudemment la soupape de sécurité en
tournant lentement le levier en sens antihoraire.
Ne permettez pas aux spectateurs de se tenir
autour du cric ou sous la charge lorsque vous
abaissez le cric.
5. Après avoir retiré le cric de sous la charge,
enfoncez le vérin et repoussez l’emboîtement du
levier pour réduire leur exposition à la rouille et
aux contaminants.
AVERTISSEMENT :
SOYEZ TRÈS PRUDENT
LORSQUE VOUS ABAISSEZ LE CRIC. LE
LEVIER DU CRIC PEUT TOURNER TRÈS
RAPIDEMENT. L’OUVERTURE TROP RAPIDE
DE LA SOUPAPE DE SÉCURITÉ PEUT FAIRE
BAISSER LE CRIC RAPIDEMENT. IL PEUT
EN RÉSULTER DES BLESSURES GRAVES
OU LA MORT SI VOUS NE SUIVEZ PAS CES
AVERTISSEMENTS.

Related product manuals