EasyManua.ls Logo

Torin T93007 - Schéma de Montage

Torin T93007
46 pages
Print Icon
To Next Page IconTo Next Page
To Next Page IconTo Next Page
To Previous Page IconTo Previous Page
To Previous Page IconTo Previous Page
Loading...
27
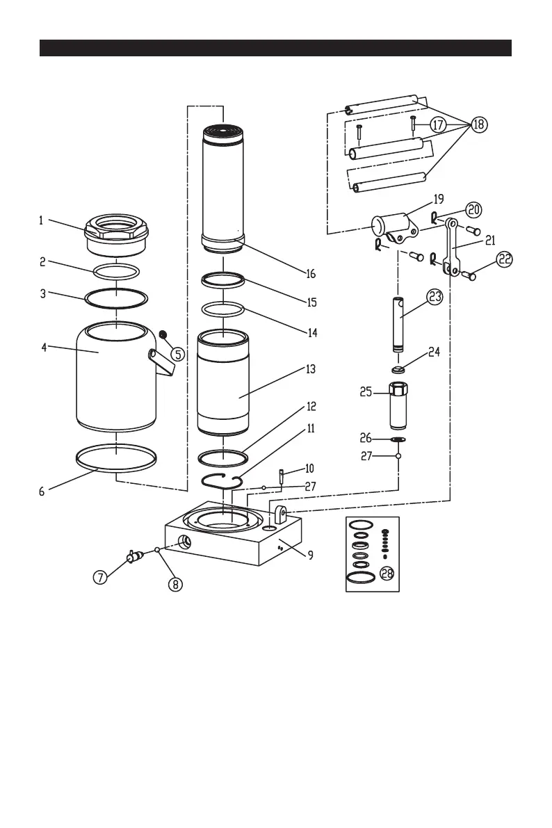
SCHÉMA DE MONTAGE

Related product manuals