EasyManua.ls Logo

Toro 74248 - Removing the Battery; Installing the Battery

Toro 74248
60 pages
Print Icon
To Next Page IconTo Next Page
To Next Page IconTo Next Page
To Previous Page IconTo Previous Page
To Previous Page IconTo Previous Page
Loading...
Batter y electr ol yte contains sulfuric acid
which is a deadl y poison and causes sev er e
bur ns.
Do not drink electr ol yte and a v oid contact
with skin, ey es or clothing . W ear safety
g lasses to shield y our ey es and r ub ber g lo v es
to pr otect y our hands.
Removing the Battery
Batter y ter minals or metal tools could shor t
a gainst metal machine components causing
spar ks. Spar ks can cause the batter y gasses
to explode, r esulting in per sonal injur y .
W hen r emo ving or installing the batter y ,
do not allo w the batter y ter minals to
touch an y metal par ts of the machine.
Do not allo w metal tools to shor t betw een
the batter y ter minals and metal par ts of
the machine.
Incor r ect batter y ca ble r outing could
dama ge the machine and ca bles causing
spar ks. Spar ks can cause the batter y gasses
to explode, r esulting in per sonal injur y .
Al w ays Disconnect the negati v e (black)
batter y ca ble bef or e disconnecting the
positi v e (r ed) ca ble.
Al w ays R econnect the positi v e (r ed)
batter y ca ble bef or e r econnecting the
negati v e (black) ca ble.
1. Diseng ag e the PTO , mo v e the motion control
lev ers to the neutral loc k ed position, and set
the parking brak e .
2. Stop the engine , remo v e the k ey , and w ait for
all mo ving par ts to stop before lea ving the
operating position.
3. Unlatc h the seat and tilt the seat up .
4. First disconnect the neg ati v e batter y cable
and g round wire from the neg ati v e (-) batter y
ter minal ( Figure 37 ).
5. Slide the red ter minal boot off the positi v e
(red) batter y ter minal. T hen remo v e the
positi v e (red) batter y cable ( Figure 37 ).
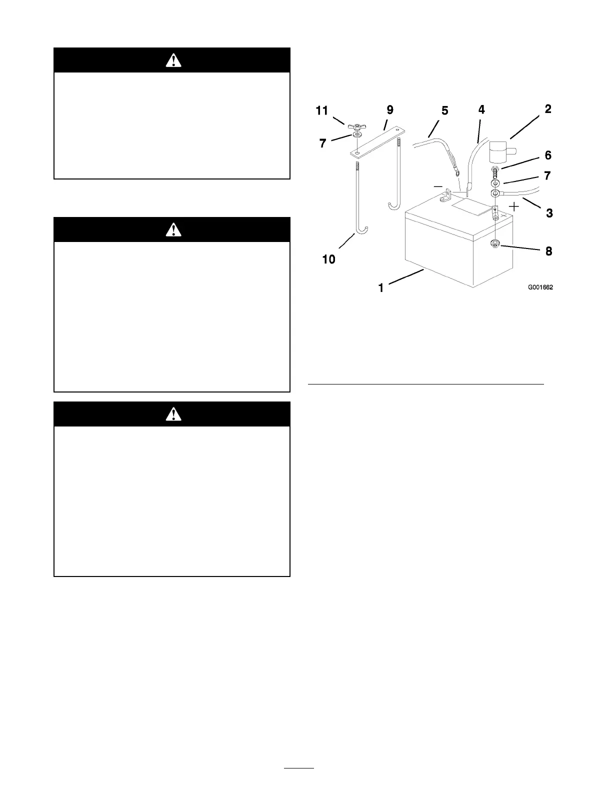
Figure 37
1. Battery
7. Washer (1/4 inch)
2. Terminal boot
8. Locknut (1/4 inch)
3. Positive battery cable 9. Battery clamp
4. Negative battery cable 10. J-bolts
5. Ground wire
11. Wingnut (1/4 inch)
6. Bolt (1/4 x 3/4 inch)
6. R emo v e both wing n uts (1/4 inc h) securing
the batter y clamp ( Figure 37 ).
7. R emo v e the batter y .
Installing the Battery
1. P osition batter y in the tra y with the ter minal
posts to w ard the engine ( Figure 37 ).
2. First, install the positi v e (red) batter y cable to
positi v e (+) batter y ter minal.
3. T hen install the neg ati v e batter y cable and
g round wire to the neg ati v e (-) batter y ter minal.
4. Secure the cables with 2 bolts (1/4 x 3/4 inc h),
2 w ashers (1/4 inc h), and 2 loc kn uts (1/4 inc h)
( Figure 37 ).
5. Slide the red ter minal boot onto the positi v e
(red) batter y post.
6. Secure batter y with J-bolts , hold do wn clamp
and 2 w ashers (1/4 inc h), and 2 wing n uts (1/4
inc h) ( Figure 37 ).
34

Table of Contents

Related product manuals