EasyManua.ls Logo

Toro 74686 - Page 54

Toro 74686
64 pages
Print Icon
To Next Page IconTo Next Page
To Next Page IconTo Next Page
To Previous Page IconTo Previous Page
To Previous Page IconTo Previous Page
Loading...
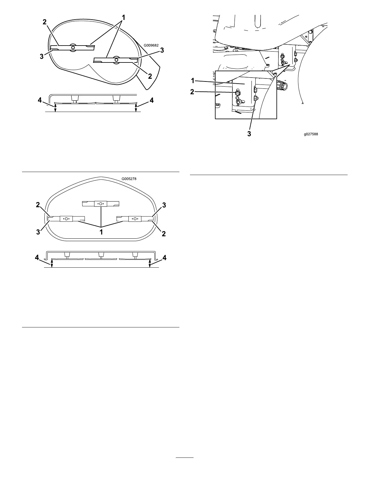
g009682
Figure68
MowerDeckswith2Blades
1.Bladessidetoside
3.Outsidecuttingedges
2.Sailareaoftheblade4.Measurefromthetipofthe
bladetotheatsurface
here.
g005278
Figure69
MowerDeckswith3Blades
1.Bladessidetoside
3.Outsidecuttingedges
2.Sailareaoftheblade4.Measurefromthetipofthe
bladetotheatsurface
here.
5.Measurebetweentheoutsidecuttingedgesand
theatsurface(Figure68andFigure69).
Note:Ifbothmeasurementsarenotwithin
5mm(3/16inch),anadjustmentisrequired;
continuewiththisprocedure.
6.Movetotheleftsideofthemachine.
7.Loosenthesidelockingnut.
8.Raiseorlowertheleftsideofthemowerdeck
byrotatingtherearnut(Figure70).
Note:Rotatetherearnutclockwiseto
raisethemowerdeck;rotatetherearnut
counter-clockwisetolowerthemowerdeck
(Figure70).
g027588
Figure70
1.Hangerbracket3.Rearnut
2.Sidelockingnut
9.Checktheside-to-sideadjustmentsagain.
Repeatthisprocedureuntilthemeasurements
arecorrect.
10.Continuelevelingthemowerdeckbychecking
thefront-to-rearbladeslope;refertoAdjusting
theFront-to-RearBladeSlope(page54).
AdjustingtheFront-to-RearBlade
Slope
Checkthefront-to-rearbladelevelanytimeyouinstall
themower.Ifthefrontofthemowerismorethan
7.9mm(5/16inch)lowerthantherearofthemower,
adjustthebladelevelusingthefollowinginstructions:
1.Parkthemachineonalevelsurface,disengage
theblade-controlswitch(PTO),andengagethe
parkingbrake.
2.Shutofftheengine,removethekey,andwait
forallmovingpartstostopbeforeleavingthe
operatingposition.
3.Settheheight-of-cutlevertothemiddleposition.
Note:Checkandadjusttheside-to-sideblade
levelifyouhavenotcheckedthesetting;referto
LevelingfromSidetoSide(page53).
4.Carefullyrotatethebladessotheyarefacing
fronttorear(Figure71andFigure72).
54

Table of Contents

Related product manuals