EasyManua.ls Logo

Torpedo SA033M - Installation and Assembly

Torpedo SA033M
9 pages
Print Icon
To Next Page IconTo Next Page
To Next Page IconTo Next Page
To Previous Page IconTo Previous Page
To Previous Page IconTo Previous Page
Loading...
The mentioned list should be considered indicative and not binding, since there may be
specific safety rules within specific safety procedures.
Periodically control:
- The mechanical parts are firmly secured and the machine support screws are in
good condition.
- Correct positioning and fixing and the condition of the leading-in wires and
isolation components.
- Machine and electric motor temperature. In case of irregularity, stop the machine
immediately and proceed with its repair.
- Machine vibrations. In case of irregularity, stop the machine immediately and
proceed with its repair.
Because of the complexity of cases dealt with, the installation, use and maintenance
instructions in this manual do not intend to examine and deal with all possible service and
maintenance situations. If supplementary instructions are necessary or if specific problems
arise, do not hesitate to contact the machine distributor or the manufacturer.
The electrical installation must be performed by qualified personnel in electrical
installations. This equipment is intended for people with reduced physical, sensory or
mental capacities or with no experience, unless they have had supervision or instructions
on its use by a security officer.
Do not allow children or adults to lean or sit on the device. Children should be supervised
to ensure they do not play with the equipment.
3. INSTALLATION AND ASSEMBLY
GENERAL
Assembly and installation of our pumps is only
permitted in swimming pools or tanks complying with
regulation HD 384.7.702. In case of doubt please
consult a specialist.
Some pumps come with a pre-filter with an interior
basket to collect large particles since these may
damage the interior hydraulic part of the pump. This
pre-filter means that the pump assembly must be
done in a horizontal position.
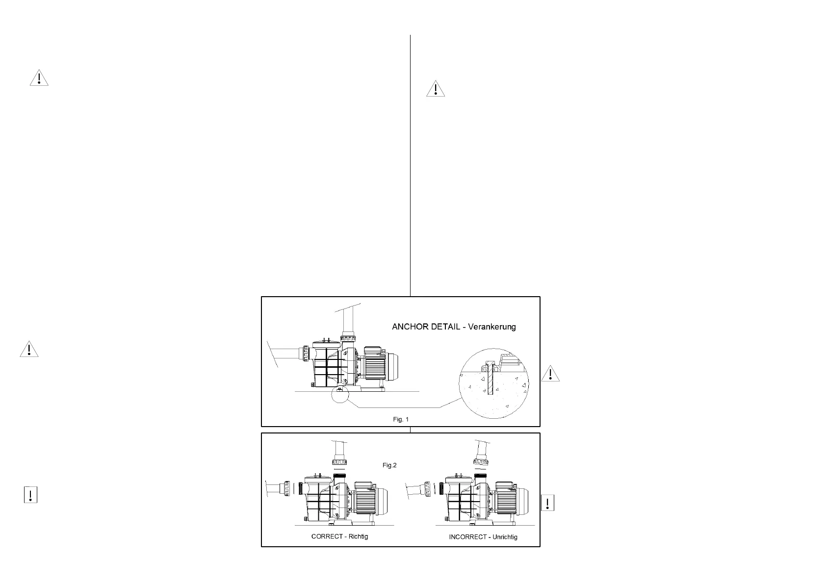
All pumps come with a two-drill foot to allow for them
to be fixed in the floor by means of an anchor. (Fig.
1).
TUBING
The connection of the pipe must be threaded into the
mouths of the pump using the right accessories (Fig.
2).
Impulsion tube installation is done totally
perpendicularly and is well centred with respect to
the nozzle to be connected so as to avoid external
den Zusatzteilen Strom fliesst.
4. Warten Sie, bis das Kreiselrad zum Stillstand gekommen ist.
Diese Liste hat nur Hinweis-Charakter und schliesst zusätzliche, spezifische
Sicherheitsnormen nicht aus.
Kontrollieren Sie regelmässig:
- Die korrekte Befestigung der mechanischen Teile und den Zustand der
Schraubenhalterung des Gerätes.
- Die richtige Position, Befestigung und den Zustand der Speiseleiter und der
Isolierung.
- Die Temperatur der Maschine und des Elektromotors. Sollten Störungen
auftreten, schalten Sie die Maschine sofort ab und veranlassen Sie die
Reparatur.
- Geräteschwingungen. Sollten Störungen auftreten, schalten Sie die Maschine
sofort ab und veranlassen Sie die Reparatur.
Es ist leider nicht möglich, im Rahmen dieser Anleitung zu Installation, Betrieb und
Wartung alle vorstellbaren Situationen beim Betrieb und bei der Wartung abzudecken.
Sollten Sie zusätzliche Anleitungen benötigen oder spezielle Probleme auftreten, zögern
Sie nicht, sich mit Ihrem Vertragshändler oder direkt mit dem Hersteller in Verbindung zu
setzen.
Die Elektroinstallation muss ausschließlich von entsprechendem Fachpersonal
durchgeführt werden. Diese Anlage darf nicht von Personen mit körperlichen,
sensorischen oder geistigen Einschränkungen bzw. von Personen ohne jegliche Erfahrung
bedient werden, es sei denn, sie sind in den Betrieb derselben durch einen
Sicherheitsbeauftragten eingewiesen worden oder werden von einer Aufsichtsperson
begleitet.
Weder Erwachsene noch Kinder dürfen sich auf die Anlage
setzen oder sich darauf abstützen. Kinder müssen beaufsichtigt
werden, damit sie nicht mit der Anlage spielen.
3. INSTALLATION UND MONTAGE
ALLGEMEINES
Die Montage und Installation unserer Pumpen ist nur an
Schwimmbecken oder Teichen erlaubt, die der Norm HD
384.7.702 entsprechen. In Zweifelsfällen wenden Sie sich
bitte an einen Fachmann.
Die Pumpen haben einen Vorfilter, der mit einem Korb
ausgestattet ist, um gröbere Partikel zurückzuhalten, die
den hydraulischen Innenraum der Pumpe beschädigen
könnten. Damit der Vorfilter seine Funktion erfüllen kann,
muss die Pumpe horizontal montiert werden.
Alle Pumpen habe einen Fuss, der zwecks Verankerung am
Boden mit vier Bohrungen versehen ist. (Abb.1)
ROHRLEITUNG
Die Rohrleitung muss unter Verwendung der
entsprechenden Zubehörteile (Abb. 2) an die
Eingangsöffnungen der Pumpe angeschraubt werden.
Installieren Sie die Druckanschlüsse genau senkrecht und in
der Mitte der entsprechenden Öffnungen. Damit vermeiden