EasyManua.ls Logo

TRADEFORCE TRFSD240PE - Develop and Practice a Plan of Escape

Default Icon
28 pages
Print Icon
To Next Page IconTo Next Page
To Next Page IconTo Next Page
To Previous Page IconTo Previous Page
To Previous Page IconTo Previous Page
Loading...
22
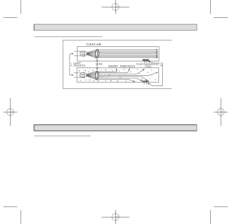
PHOTOELECTRIC CHAMBER:
A light transmission source and a photosensitive receiver is used in this design. Light
that is transmitted fall upon the receiver. When smoke or dust enters the light path,
some of the light is scattered or absorbed. The result of a reduction of light falling
upon the photosensitive receiver will cause an alarm.
Photoelectric smoke alarm is best for detecting smouldering fires.
14. DEVELOP AND PRACTICE A PLAN OF ESCAPE
13. OPERATING PRINCIPLES OF SMOKE ALARMS
BASIC OF ESCAPE PLAN:
14.1 Make a floor plan indicating all doors and windows and at least two escape
routes from each room. Second storey windows may need a rope or chain
ladder.
14.2 Have a family meeting and discuss your escape plan, showing everyone what
to do in case of fire.
14.3 Determine a place outside your home where all of you can meet, if a fire oc-
curs.
14.4 Familiarize everyone with the sound of the smoke alarm and practice leaving
your home when they hear it.
1398-7210-01_v1.qxd:_ 2013.5.15 5:25 PM Page 22