EasyManua.ls Logo

Traeger BBQ075 - Assembly Instructions; Mounting the Legs

Traeger BBQ075
13 pages
Print Icon
To Next Page IconTo Next Page
To Next Page IconTo Next Page
To Previous Page IconTo Previous Page
To Previous Page IconTo Previous Page
Loading...
SECTION ONE: ASSEMBLY INSTRUCTIONS
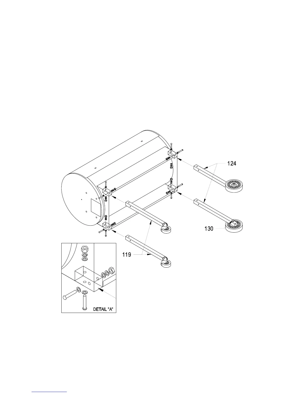
MOUNTING THE LEGS:
1) Carefully lay the Grill on its back on a non-abrasive surface.
2) Use the Black Bolts, Washers and Nuts (see Detail “A”) supplied in the Hardware Kit
(144) to install the Caster Legs (119) on the left end of the Grill and the Wheel Legs
(124) on the right end as shown in the diagram below. The Acorn Nuts (130) on the
Wheel Legs (124) should go toward the center of the Grill. Leave the Nuts loose
during this step.
3) Set the Grill upright to level and then tighten all Nuts.

Related product manuals