EasyManua.ls Logo

Trane RAUC-C25 - Page 19

Trane RAUC-C25
112 pages
Print Icon
To Next Page IconTo Next Page
To Next Page IconTo Next Page
To Previous Page IconTo Previous Page
To Previous Page IconTo Previous Page
Loading...
SS-SVX09A-EN 19
Installation
Note: All water connections are Victaulic.
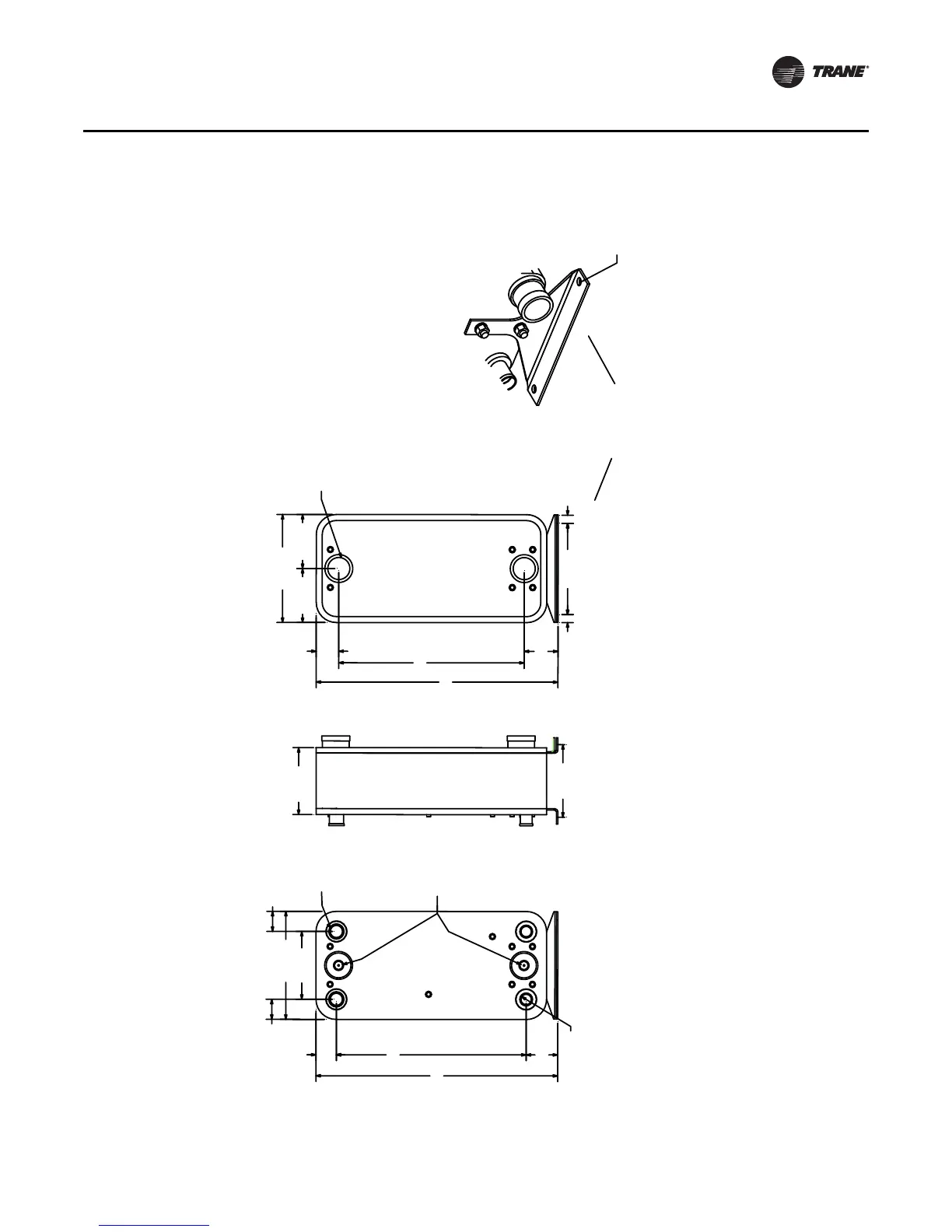
Figure 12. BPHE 40 Evaporator Chiller Dimensions
3.960
23.780
2.551
30.292
13.533
2.517
2.517
8.500
6.767
6.767
13.533
30.292
2.826
4.235
23.230
1.380 ID X 2
7.720
9.096
SUCTION
CIR #1
LIQUID
CIR #1
SUCTION
CIR #2
LIQUID
CIR #2
1.660 Ø ID X 2
ENTERING
WATER
LEAVING
WATER
Ø 3.00 X 2
SWAGELOK
B-4-P
1/4" NPT
MALE
PIPE
PLUG
OR
EQUIVALENT
FIELD
PROVIDED
Evaporator mounting brackets
and insulation are provided
with Chiller BPHE Accessory
for field installation - Field
provided vinyl tape is required
to seal insulation edges after
installation.
FRONT
VIEW
W/INSULATION
RIGHT
VIEW
W/INSULATION
REAR
VIEW
W/INSULATION
MOUNTING
BRACKET x 2
Ø.562 X 2 Each Bracket
11.420
1.020
1.020

Table of Contents

Related product manuals