EasyManua.ls Logo

Trane TCONT724AS42DAA - Field Wiring Diagrams

Trane TCONT724AS42DAA
40 pages
Print Icon
To Next Page IconTo Next Page
To Next Page IconTo Next Page
To Previous Page IconTo Previous Page
To Previous Page IconTo Previous Page
Loading...
20
18-HD82D1-1B-EN
XR724 INSTALLER’S GUIDE
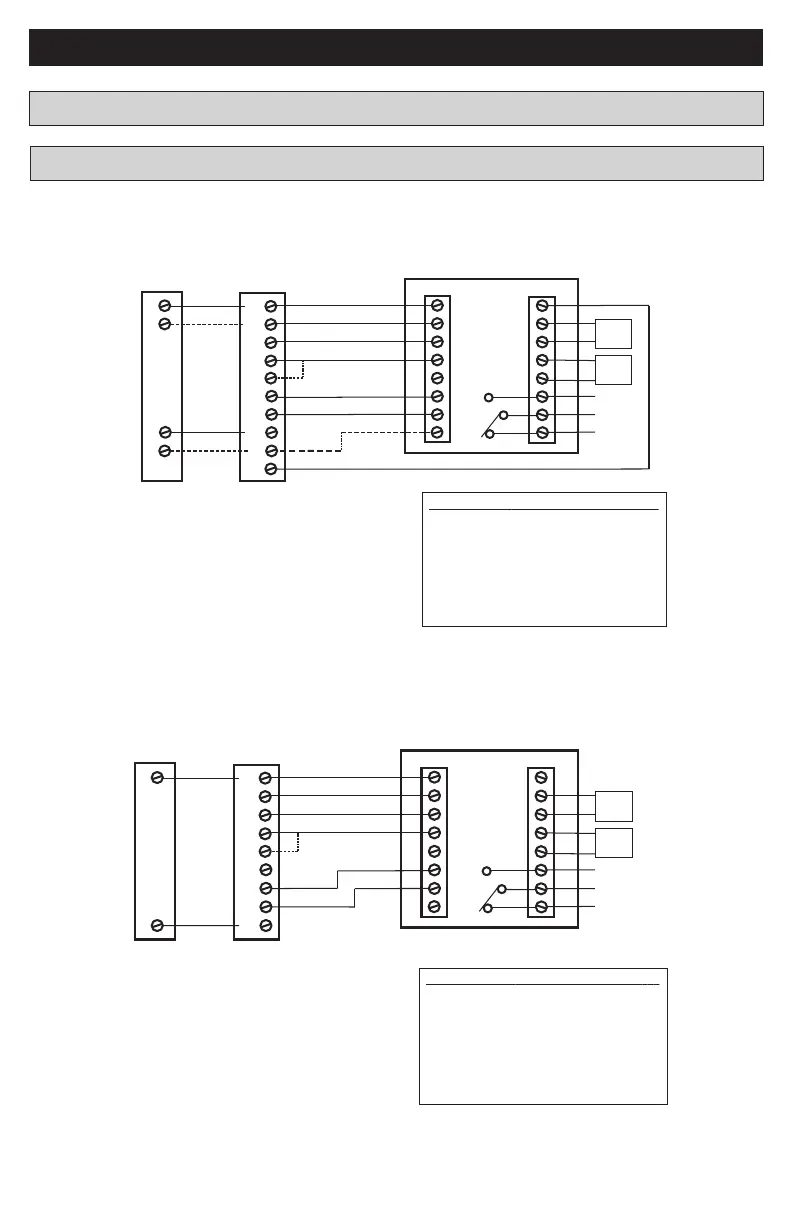
Heat/Cool Diagram 1: 1 or 2 Stage Cooling w/TAM7 Model Variable Speed Air Handler
or TAM9 24V mode
G
W1
YI (In)
R
B/C
Y2
BK
W2
Y 1
R
B
Y2
Notes:
1. Cut/remove the factory installed “BK” jumper at the indoor unit
2. “Y2” & “R” connections at outdoor are only required for two
stage units
3. Jumper “W2” to “W3” if three stages of indoor heat are available
4. “YI” and “YO” connections must be made as shown for freeze
protection and internally mounted condensate overflow circuits to
work properly
5. If third party condensate overflow switches are installed, they
should be wired between “Y1” of the thermostat and “YI” of the
airflow control board
Sensor Options in the Installer Settings/Sensor Settings menu
Remote Sensor (connect to the RS terminals)
- None
- Replaces internal sensor
- Average with internal sensor
Outdoor Temp Sensor (connect to the ODT terminals)
- None
- Outdoor
Caution: Do not run sensor wires in the same bundle with HVAC
wires. Keep away from high voltage wiring to avoid interference.
Remote Temperature Sensor Connections and Operation:
Aux relay
outputs
RS
C
RS
R
ODT
W1
W2
BK
ODT
NO
C
Y1
NC
Y2
O/B
G
Thermostat Connection
Outdoor
Sensor
Remote
Sensor
W3
YO
VS Air Handler &
Electric Heat
One or Two Stage
Cooling Only
(Note 1)
(Note 2)
(Note 2)
(Note 3)
(Note 5)
(Note 4)
Field Wiring Diagrams
Heat/Cool Diagram 2: 1 Stage Cooling w/GAM5A & TAM4 Model Air Handler
G
W1
YI (In)
R
B/C
W2
B
Y
Notes:
1. Jumper “W2” to “W3” if three stages of indoor heat are available
2. “YI” and “YO” connections must be made as shown for freeze
protection and internally mounted condensate overflow circuits to
work properly
3. If third party condensate overflow switches are installed, they
should be wired between “Y” of the thermostat and “YI” of the
airflow control board
Sensor Options in the Installer Settings/Sensor Settings menu
Remote Sensor (connect to the RS terminals)
- None
- Replaces internal sensor
- Average with internal sensor
Outdoor Temp Sensor (connect to the ODT terminals)
- None
- Outdoor
Caution: Do not run sensor wires in the same bundle with HVAC
wires. Keep away from high voltage wiring to avoid interference.
Remote Temperature Sensor Connections and Operation:
Aux relay
outputs
RS
C
RS
R
ODT
W1
W2
BK
ODT
NO
C
Y1
NC
Y2
O/B
G
Thermostat Connection
Outdoor
Sensor
Remote
Sensor
W3
YO
Non-VS
Air Handler &
Electric Heat
One Stage
Cooling Only
(Note 1)
(Note 2)
(Note 3)
O
Heat/Cool Wiring Diagrams

Related product manuals