EasyManua.ls Logo

Transpak TP-6000-1 - Slide Table Group Parts; Slide Table Assembly Details

Transpak TP-6000-1
121 pages
Print Icon
To Next Page IconTo Next Page
To Next Page IconTo Next Page
To Previous Page IconTo Previous Page
To Previous Page IconTo Previous Page
Loading...
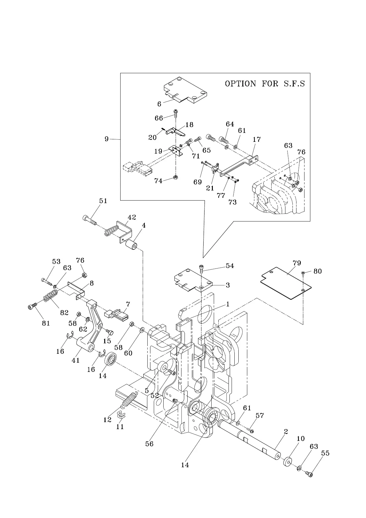
SLIDE TABLE GROUP
-5-
1-2 T6-1-20005
01/18/08

Related product manuals