EasyManua.ls Logo

Transpak TP-6000-1 - Page 95

Transpak TP-6000-1
121 pages
Print Icon
To Next Page IconTo Next Page
To Next Page IconTo Next Page
To Previous Page IconTo Previous Page
To Previous Page IconTo Previous Page
Loading...
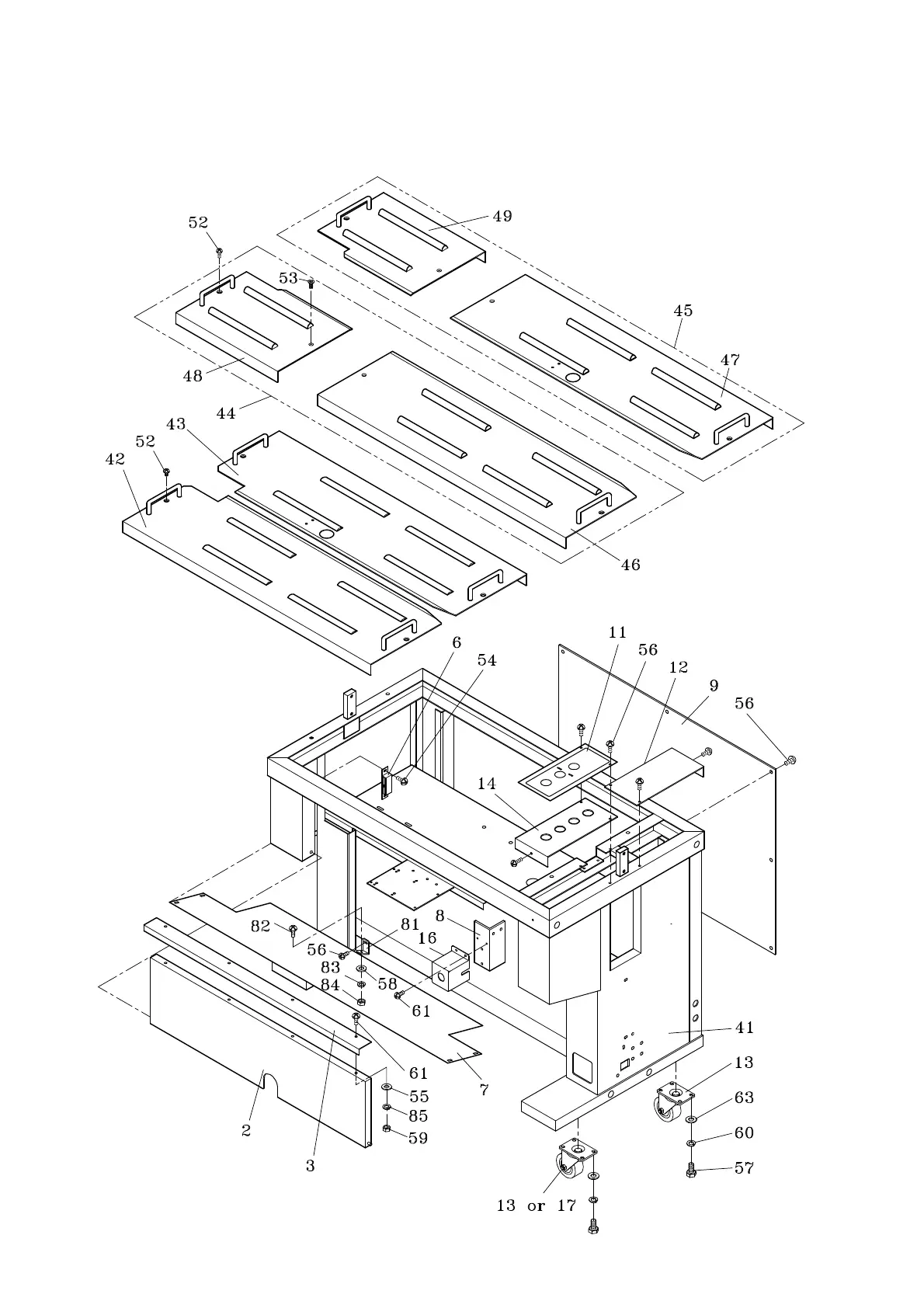
BODY FRAME GROUP
-53-
5-1 T6-5-10014
01/18/08

Related product manuals