EasyManua.ls Logo

Trimble M3 Total Station - Checking and Adjustment

Default Icon
172 pages
Print Icon
To Next Page IconTo Next Page
To Next Page IconTo Next Page
To Previous Page IconTo Previous Page
To Previous Page IconTo Previous Page
Loading...
Trimble M3 Total Station User Guide 105
Applications 8
To accept the constants that appear, press [F4] o.k..
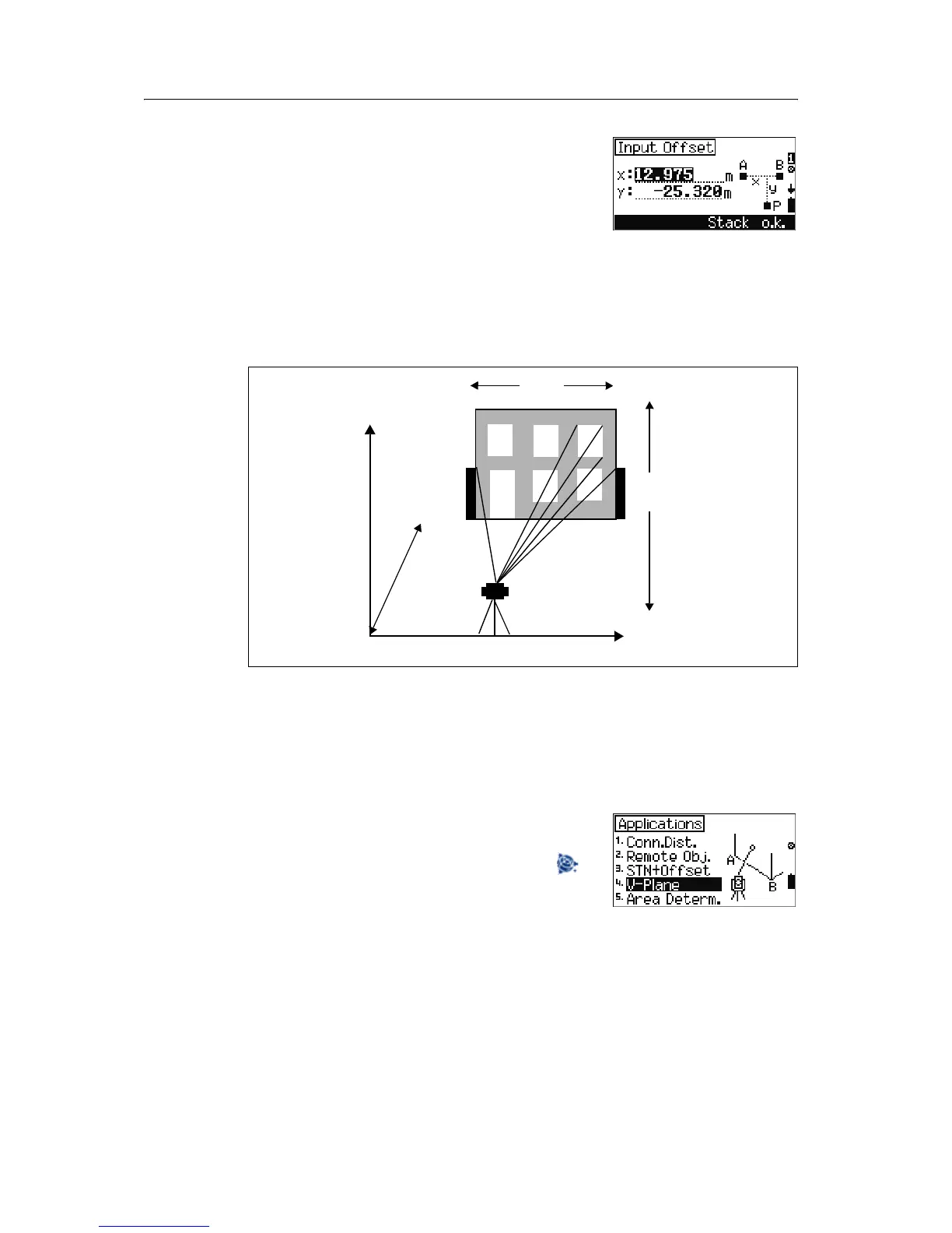
8.2 Vertical plane
A vertical plane is defined by angle and distance measurements to two points. The
coordinates of further points in this plane are determined by an angle measurement
only.
Note – xSet is the x-coordinate value in this plane direction. You can define the
x-coordinate for any measuring points (P). For h-axis direction, hSet performs the same
function.
This option enables you to determine coordinates in a vertical plane to compute
heights and volume. It also allows you to set out sectional planes for facade
construction.
To start the vertical plane option, from the
Application menu, select [4] V-Plane.
Note – In any measurement screen, you can press to
change the point number and point code and the EDM
mode, or check recorded data.
x Set
P
y
h
S
hSet
A
B
x

Related product manuals