EasyManua.ls Logo

Trinity Highway CASS TL3 - Bottom CRP with Concrete Footings

Default Icon
42 pages
Print Icon
To Next Page IconTo Next Page
To Next Page IconTo Next Page
To Previous Page IconTo Previous Page
To Previous Page IconTo Previous Page
Loading...
TrinityHighway.com 18 Revision A November 2021
line posts are placed with sleeve in a concrete footing, a sleeve with a soil plate, or a driven post
with a soil plate.
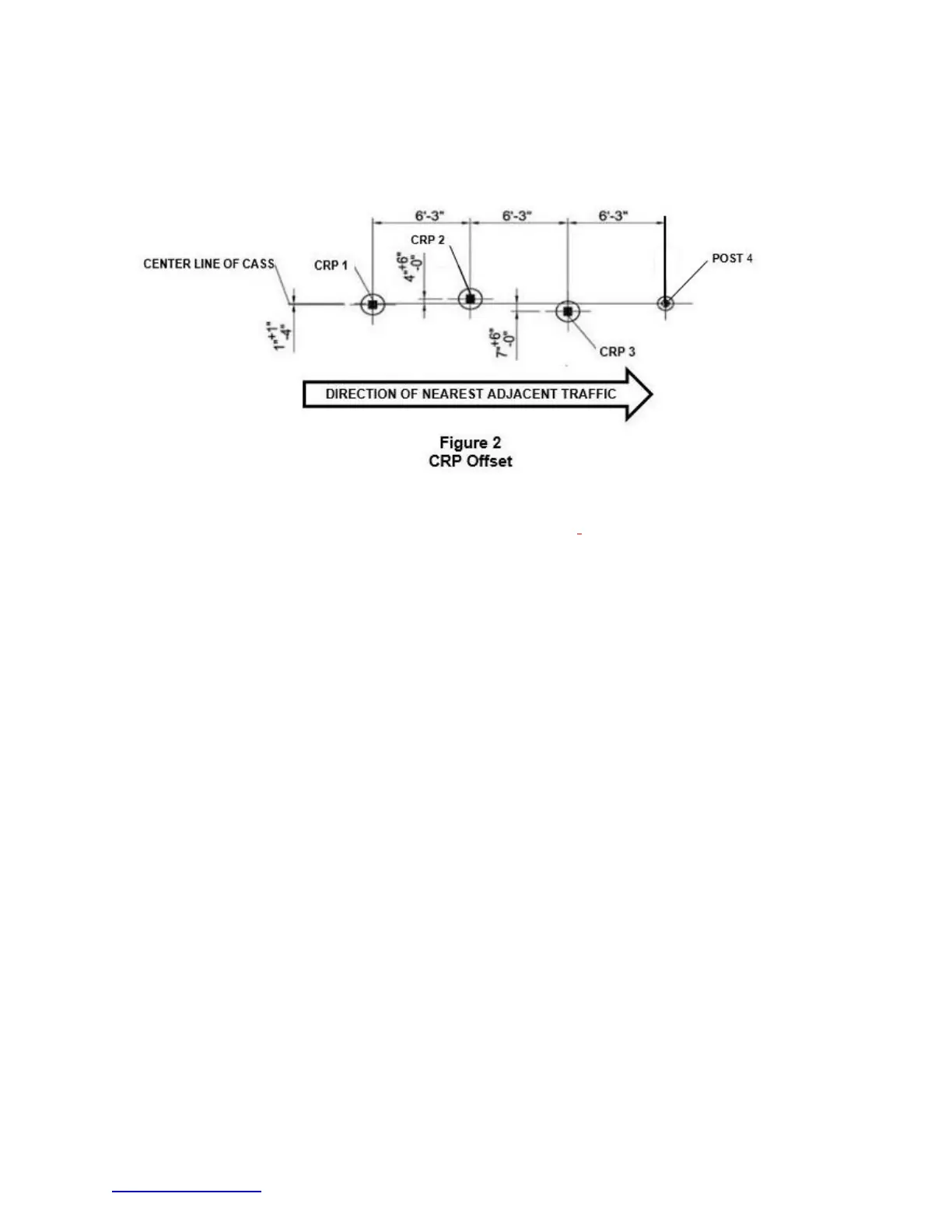
See Figure 2 for the footing locations and spacing.
Based on soil conditions at the site, the CCT may need larger/deeper concrete anchors or larger
soil plates (for driven applications) as determined through soil analysis.
Bottom CRP with Concrete Footings
Place the Bottom CRP (PN 33936A) in a minimum 18” [450] diameter x 5’-0” [1.50 m] deep
reinforced MSC footing. The footing is reinforced with a spiral rebar cage.
Complete the following steps for the placement of the Bottom CRP in the concrete footing:
1.
Lay out the three (3) CRP footings.
2.
Punch or auger the appropriate hole for the concrete footing.
3.
Fabricate a rebar cage in accordance with project/shop drawing requirements. A standard
spiral rebar cage that may be applicable is PN-33916B (See Figure 3).
4.
Place the rebar cage in the footing hole, ensuring a minimum of 3” [75 mm] of concrete
surrounds the cage on all sides and the cage is approximately 3” [75 mm] from the top of
the footing (finished grade). Place the Bottom CRP in the center of the spiral rebar cage,
ensuring the top of the post is no more than 4” [100 mm] above the finished grade. See
Figure 3 for the orientation of the post.
5.
Place the MSC in the hole. Consolidate the concrete to remove air pockets in compliance
with applicable state specifications for similar applications.
6.
Smooth off the top of the concrete footing with a slight crown from the sleeve.
7.
Allow the footing to attain the required concrete strength before disturbing the foundations,
including the placement of posts.