EasyManua.ls Logo

Tripp Lite SRCOOL7KRM - Page 27

Tripp Lite SRCOOL7KRM
32 pages
Print Icon
To Next Page IconTo Next Page
To Next Page IconTo Next Page
To Previous Page IconTo Previous Page
To Previous Page IconTo Previous Page
Loading...
VERS LE DRAIN
EXTERNE
1
2 & 3
2A 2B
27
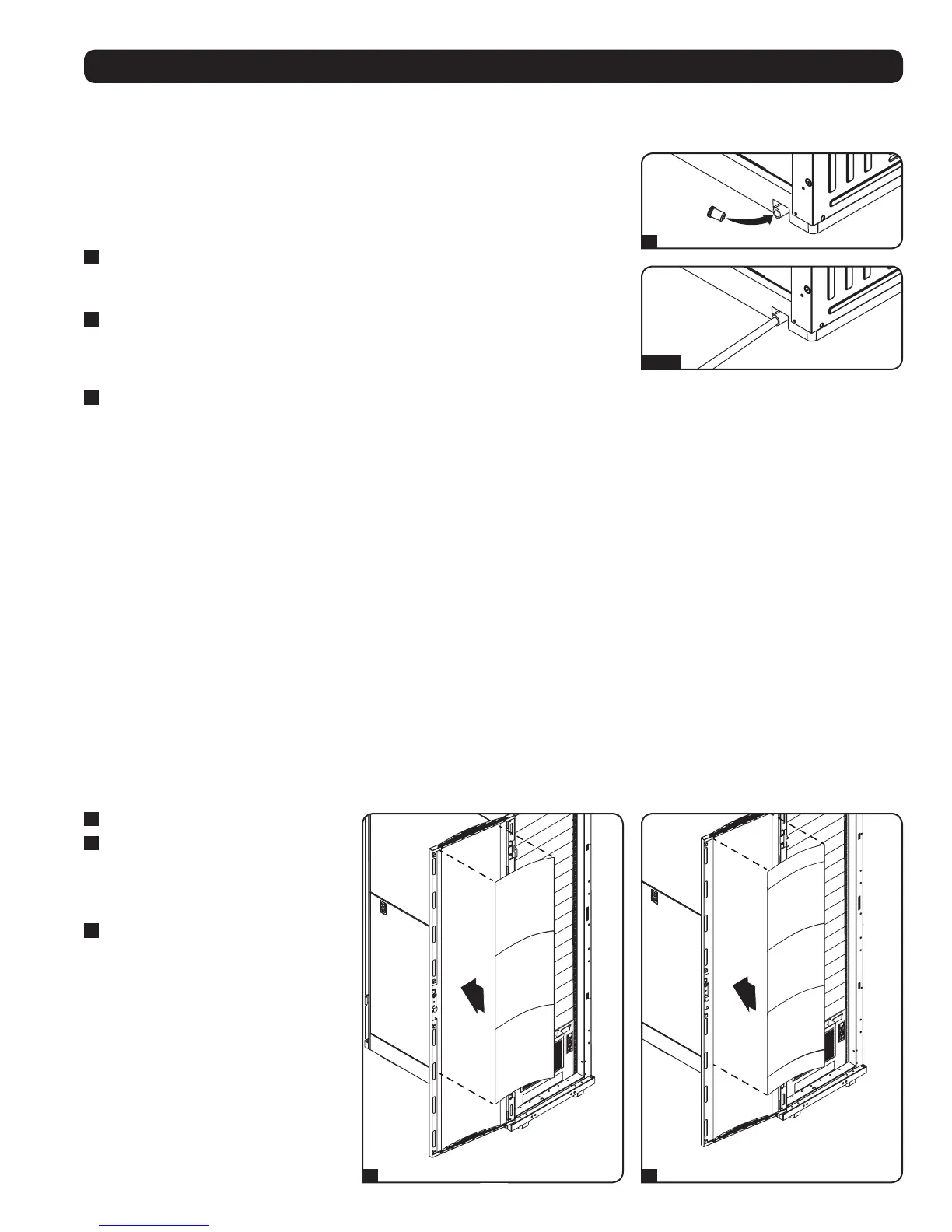
Bouchon de drainage
Avertissement : L’évaporateur intégré de l’appareil ne peut fonctionner que si le
bouchon de drainage est installé dans la sortie de drainage.
Le SRCOOL7KRM est expédié avec le bouchon de drainage préinstallé. Lorsque l’appareil
refroidit ou déshumidifie, il se forme de la condensation. L’appareil est comporte un
évaporateur intégré qui lui permet d’éliminer la condensation par le biais d’un flux
d’échappement d’air chaud. Cette fonction permet à l’appareil de fonctionner indéfiniment
sans avoir à vider le réservoir de collecte d’eau.
1
Mode de refroidissement avec évaporation
Le bouchon de drainage doit demeuré installé pour permettre l’évaporation de la
condensation.
2
Mode de refroidissement sans évaporation
Pour utiliser le mode de refroidissement sans évaporation de la condensation, retirer le
bouchon de drainage et acheminer une conduite de récupération des fluides fournit par
l’utilisateur vers un drainage extérieur.
3
Mode Déshumidifier
Lorsque l’appareil est utilisé en mode Déshumidifier, le bouchon de drainage doit être retiré et une conduite de récupération des fluides
fournie par l’utilisateur doit être acheminée vers un drainage externe. Une telle mesure est requise, car la quantité d’eau éliminée provenant
de l’air augmente considérablement.
Remarque : Si le système de drainage se bouche, un petit réservoir interne recueillera la condensation. Si le système de drainage n’est pas
débouché avant que le réservoir interne ne se remplisse, l’appareil se mettra automatiquement hors tension.
Avertissement : Avant que l’appareil ne soit raccordé à un système dédié au drainage, il doit être mis hors tension et
débranché. Il existe un risque potentiel de choc électrique lorsque l’appareil est branché.
Remarque : Si le système de refroidissement de l’établissement est équipé d’un thermostat qui abaisse la température pour la nuit ou les fins
de semaine, fait l’objet d’arrêts périodiques ou a une capacité de refroidissement limitée, des alternatives à l’installation standard devraient être
prises en considération. Ce produit est destiné à servir de dispositif de refroidissement complémentaire et ne saurait compenser les fluctuations
importantes au niveau de la température et de l’humidité du bâtiment.
Alimentation du SRCOOL7KRM
Brancher l’appareil dans un source d’alimentation appropriée.
Fonctionnement à basse température
Le SRCOOL7KRM est un refroidisseur à haut rendement ayant la capacité de produire de l’air très froid à la sortie. Lorsque l’appareil est utilisé
dans des environnements qui sont déjà froids (20 °C/68 °F ou moins), Tripp Lite recommande d’utiliser le mode déshumidifier seulement.
Cela permettra à l’appareil de continuer à fournir un refroidissement complémentaire tout en évitant tout problème de givrage au niveau de
l’évaporateur causé par la basse température de la pièce.
Installation des panneaux de porte magnétiques
Installation (suite)
1
Ouvrir la porte avant du boîtier pour bâtis.
2A
Modèles 42U : Fixer trois panneaux
de porte magnétiques à l’intérieur de
la porte du boîtier. Laisser l’avant du
SRCOOL7KRM exposé afin de permettre
une ventilation adéquate à l’intérieur.
2B
Modèles 48U : Fixer cinq panneaux
de porte magnétiques à l’intérieur de
la porte du boîtier. Laisser l’avant du
SRCOOL7KRM exposé afin de permettre
une ventilation adéquate à l’intérieur.
Remarque : Les panneaux pourraient avoir
besoin d’être coupés pour correspondre à
l’application.

Related product manuals