EasyManua.ls Logo

Tripp Lite SRGROUND - Page 4

Tripp Lite SRGROUND
16 pages
Print Icon
To Next Page IconTo Next Page
To Next Page IconTo Next Page
To Previous Page IconTo Previous Page
To Previous Page IconTo Previous Page
Loading...
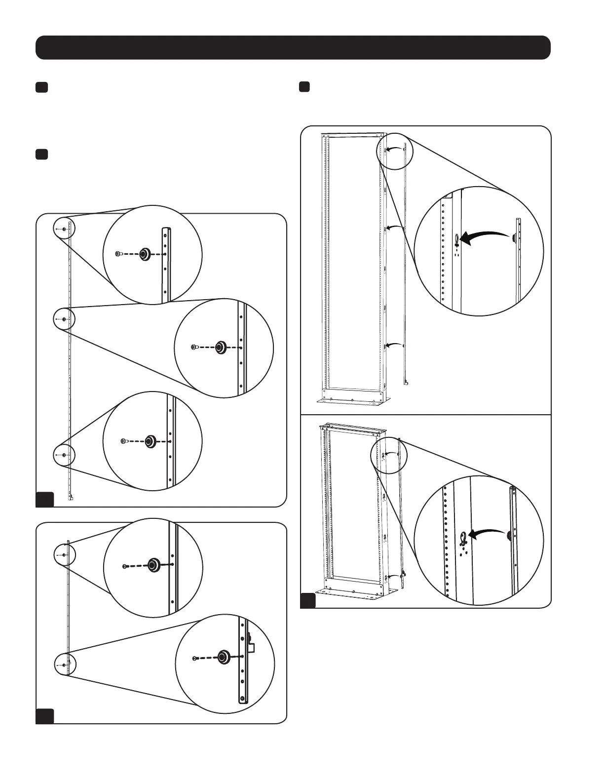
1a
SRGROUND25
1b
SRGROUND25
SRGROUND
2
4
Installation
2-Post and 4-Post Open Frame Racks
1a
SRGROUND – Attach the 3 Mounting Buttons to the bar
in the following holes:
Button 1: Three holes from the TOP of the bar
Button 2: Eleven holes from the TOP of the bar
Button 3: Five holes from the BOTTOM of the bar
1b
SRGROUND25 – Attach the 2 Mounting Buttons to the bar
in the following holes:
Button 1: Four holes from the TOP of the bar
Button 2: Four holes from the BOTTOM of the bar
SRGROUND
2
Attach the bar to the outside frame of the rack by simply inserting
the Mounting Buttons into the mounting button holes and
snapping them down into place.

Related product manuals