EasyManua.ls Logo

Triumph 35-7105-2 - Assembly Instructions; Step 1: Net Setup; Step 2: Middle Pole Attachment

Triumph 35-7105-2
9 pages
Print Icon
To Next Page IconTo Next Page
To Next Page IconTo Next Page
To Previous Page IconTo Previous Page
To Previous Page IconTo Previous Page
Loading...
Assembly Instructions
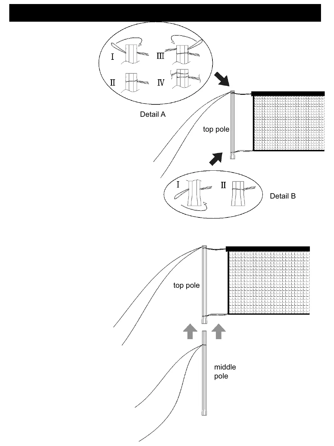
Step 1
Step 2:
Insert ropes on top and
bottom corners of net
through top and bottom
holes of top pole and
secure with knots. See
detail A and B.
Attach the middle pole
section into the top pole
by aligning the holes.
Insert lower guide rope
loop through hole in
middle pole.
top pole
middle
pole
top pole
Detail A
Detail B
-4-

Related product manuals