EasyManua.ls Logo

Trotec TTK54E - Page 19

Trotec TTK54E
23 pages
Print Icon
To Next Page IconTo Next Page
To Next Page IconTo Next Page
To Previous Page IconTo Previous Page
To Previous Page IconTo Previous Page
Loading...
EN 19
dehumidifier TTK 54 E / TTK 66 E
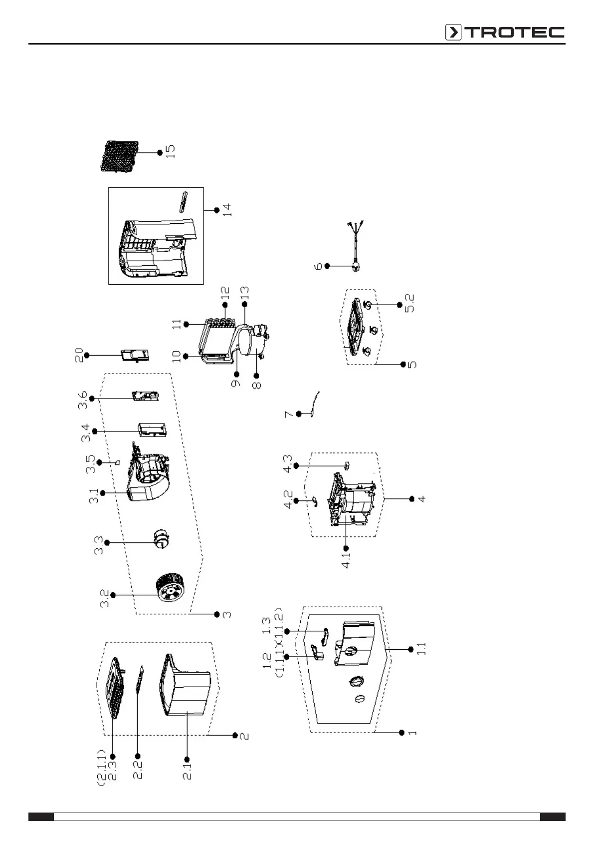
Overview of spare parts TTK54E Note: The position numbers of the spare parts differ from those
describing the positions of other parts mentioned in this
operating manual.