EasyManua.ls Logo

Trumeter 7911 - Page 21

Trumeter 7911
24 pages
Print Icon
To Next Page IconTo Next Page
To Next Page IconTo Next Page
To Previous Page IconTo Previous Page
To Previous Page IconTo Previous Page
Loading...
21
Ripetere il ciclo senza modifiche
per uscire dalla programmazione
Reset
Reset
Reset
Reset
Reset
Reset
Reset
Reset
Reset
+ per entrare nel modo PROG
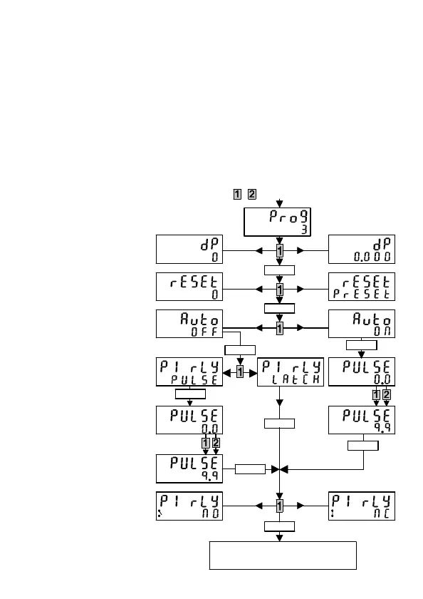
Diagramma di programmazione
Per entrare nel modo di programmazione premere e tenere premuti contemporaneamente
il Tasto di Programmazione 1 ed il Tasto di Programmazione 2. Compare la parola
"PROG" e su un contatore in basso a destra del display parte un conto alla rovescia in
secondi a partire da 3. L'unità passa nel modo di programmazione illustrato nel seguente
diagramma.
Ogni volta che si entra nel modo di programmazione, i valori visualizzati corrispondono
alle ultime impostazioni note. L'interruttore 1 commuta la visualizzazione tra le opzioni di
ogni funzione, mentre il tasto Reset consente di accedere alla funzione successiva. Per
accettare le impostazioni premere il tasto Reset per scorrere ciclicamente tutte le funzioni
senza apportare modifiche.
Pro9 : Programmazione
dP : Punto decimale
prESET : Valore
Preimpostato
OFF : Disattivata
On : Attivata
rLy : Relè
PULSE : Impulsivo
lAtCH : Bloccato
no : Normalmente
Aperto
nc : Normalmente
Chiuso

Related product manuals