EasyManua.ls Logo

Tyre ?are T650 - Page 7

Tyre ?are T650
20 pages
Print Icon
To Next Page IconTo Next Page
To Next Page IconTo Next Page
To Previous Page IconTo Previous Page
To Previous Page IconTo Previous Page
Loading...
Parameters setting
05
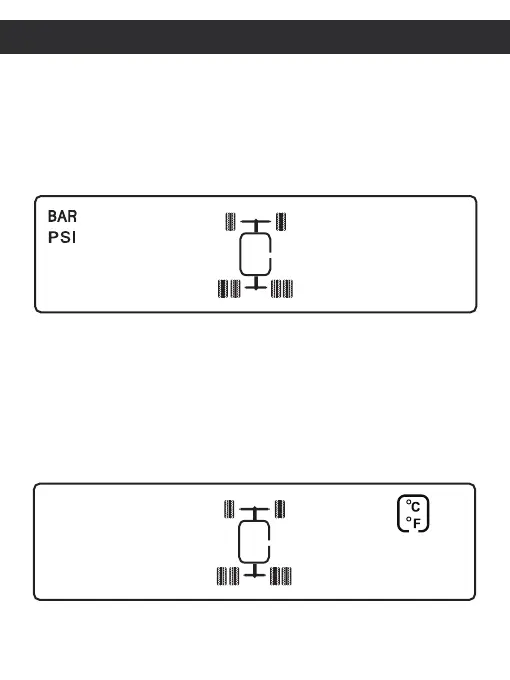
Pressure unit setting
In the standby interface,press and hold SET to enter into the setting mode,
press + to select to "BAR PSI" interface ,press SET then press + or - to select
pressure unit you want. And press the SET to confirm setting,finally press and
hold SET for 3 seconds to save the setting and exit to standby.
Temperature unit setting
In the standby interface,press and hold SET to enter into the setting mode,
press + to select to "℃ ℉" interface ,press SET then press + or - to select
pressure unit you want. And press the SET to confirm setting,finally press
and hold SET for 3 seconds to save the setting and exit to standby.
Pressure unit setting interface
Temperature unit setting interface