EasyManua.ls Logo

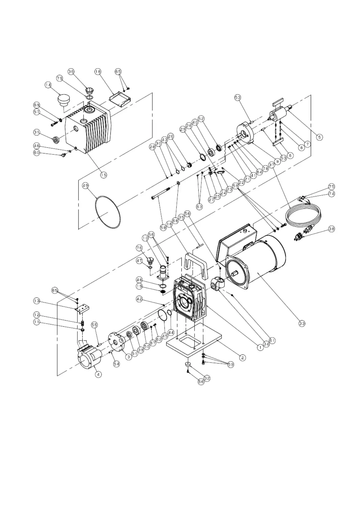
Ulvac G-101D - Fig.11 Disassembly Drawing of G-101 S Oil Sealed Rotary Vacuum Pump

Ulvac G-101D
43 pages
Print Icon
To Next Page IconTo Next Page
To Next Page IconTo Next Page
To Previous Page IconTo Previous Page
To Previous Page IconTo Previous Page
Loading...
-31-
Fig. 11 Disassembly drawing of G-101S oil sealed rotary vacuum pump

Table of Contents

Related product manuals