EasyManua.ls Logo

Unic URW295CR - Slip Ring Construction

Unic URW295CR
125 pages
Print Icon
To Next Page IconTo Next Page
To Next Page IconTo Next Page
To Previous Page IconTo Previous Page
To Previous Page IconTo Previous Page
Loading...
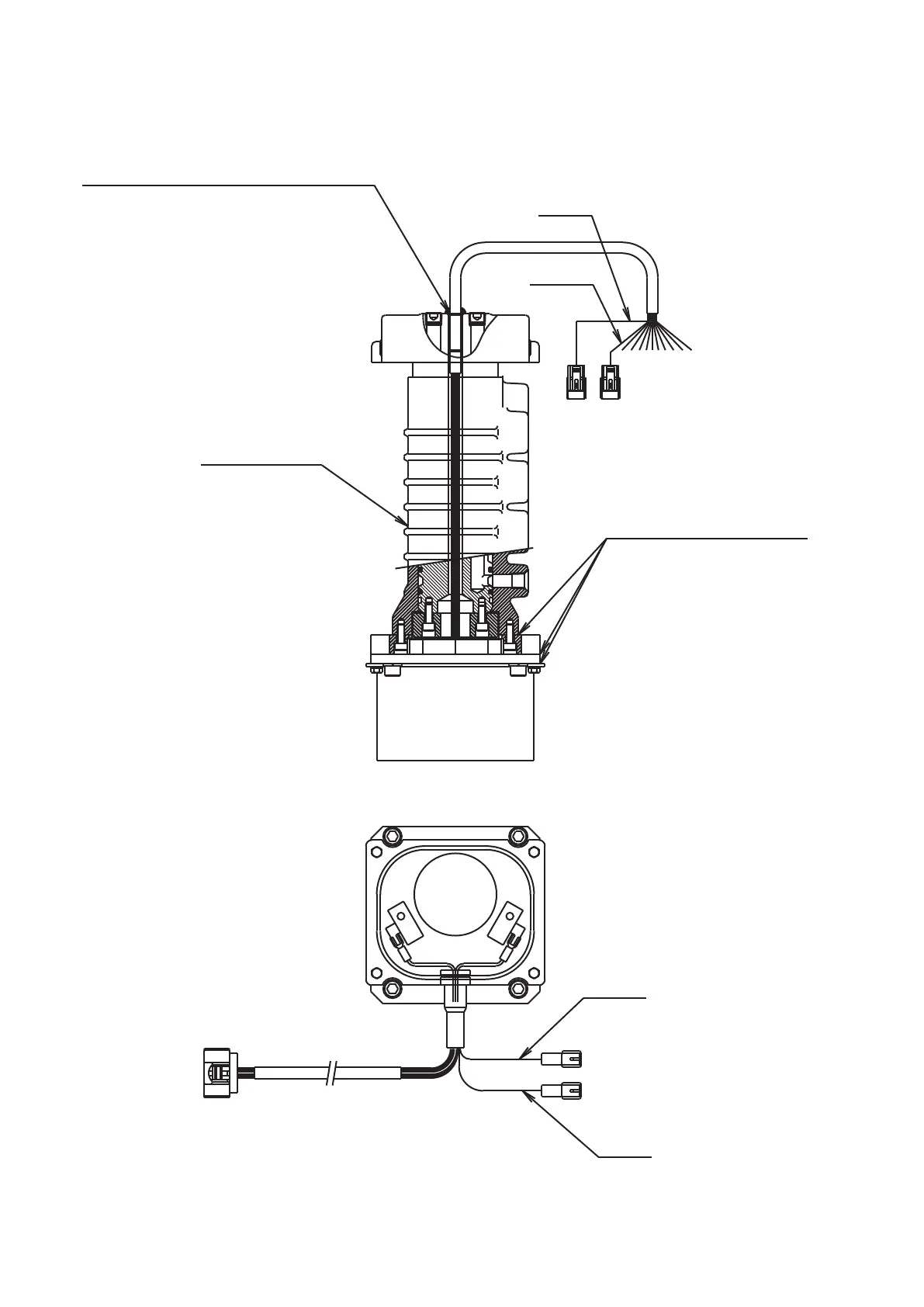
Swiveljoint
22.1Constructionofslipringanditsfittingposition.
Applysealingagent,
"CemedineSuperX(White)"
tothemountingsurface
(overentirecircumference.)
Degreasesealingsurface
thoroughly.
Green
Yellow
Applysealingagent,
"CemedineSuperX(White)"
tothemountingsurface
(overentirecircumference.)
Degreasesealingsurface
thoroughly.
Yellow
Green
(22‑1)

Related product manuals