EasyManua.ls Logo

USSC Forester 3500 - Installation; The Floor Protection

USSC Forester 3500
20 pages
Print Icon
To Next Page IconTo Next Page
To Next Page IconTo Next Page
To Previous Page IconTo Previous Page
To Previous Page IconTo Previous Page
Loading...
5
Unpacking and preparing your stove for installation.
1. Remove your stove from the outer packaging and place on oor. Please inspect stove and check
that it is not damaged in any way. Never attempt to use a stove that has been damaged.
2. If you are installing the stove yourself, proceed as follows. However, if you are unsure about any
aspect of stove installation, please contact your dealer and he will discuss installation with you or
put you in touch with an experienced stove installer.
3. Open re door. Remove and check the following contents.
4 stove legs
Wooden handle and screws
Ash pan
Operating tool
Handle holder
In the unlikely event that something is missing please contact your dealer immediately and we will
rectify the situation.
4. Gently lay the stove on its back. Remove screws from 4 corners of base and t one of the legs to
each corner of the stove. Tighten bolt to ensure leg is secure to base of stove. When complete,
gently stand the stove upright.
5. Move the stove into position. Do not drag the stove as this may damage the legs, screws or base.
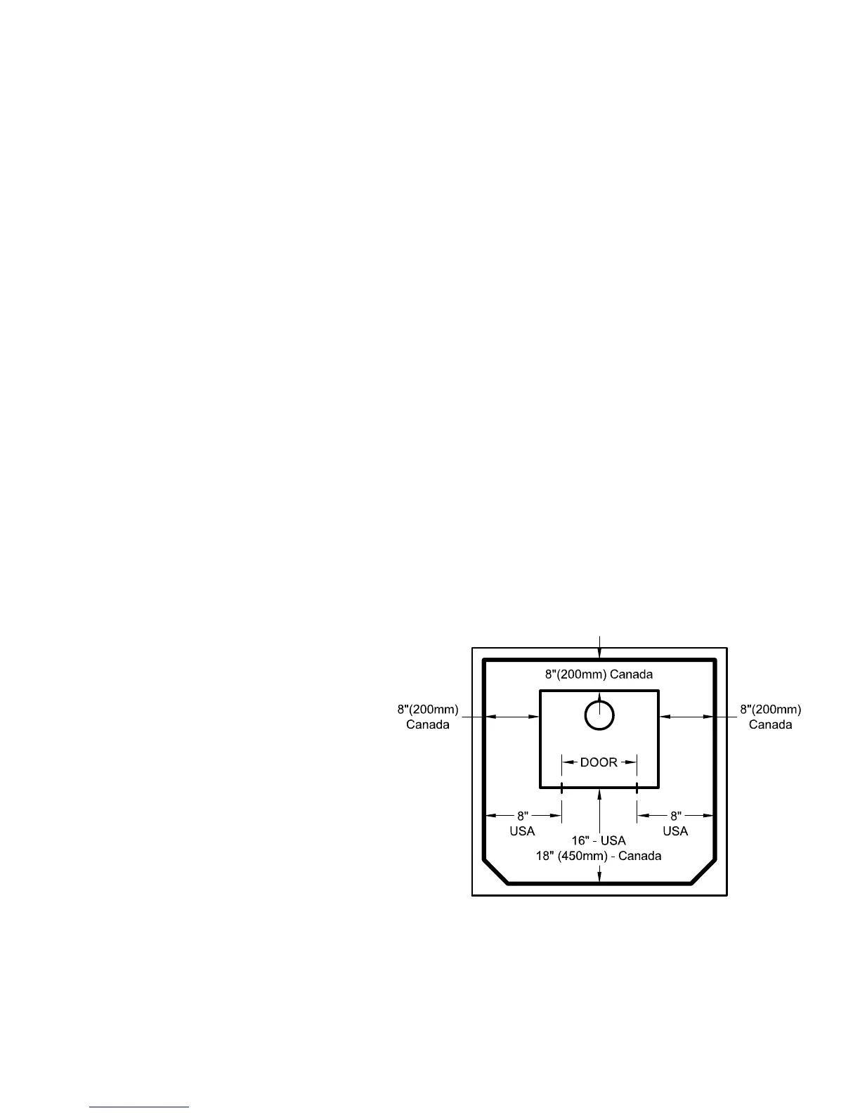
Installation
If the stove is to be installed on a com-
bustible oor, it must be placed on a non-
combustible hearth pad. In the USA, the
oor protector must extend 8” beyond
each side of the ue loading door and 16”
to the front. In Canada, the oor protec-
tor must extend 8“ (200mm) beyond each
side and the back of the appliance and
18“ (450mm) to the front. (See g. 4)
In a rear vent installation the oor protec-
tion must also extend under the stove-
pipe a minimum of 2” (50mm) beyond
either side of the pipe.
The Floor Protection

Related product manuals