EasyManua.ls Logo

UWE CAYENNE S - Tipps zur Beseitigung; Kleinerer Mängel; Tips for Rectifying

UWE CAYENNE S
50 pages
Print Icon
To Next Page IconTo Next Page
To Next Page IconTo Next Page
To Previous Page IconTo Previous Page
To Previous Page IconTo Previous Page
Loading...
32
Grosse Abdeckhaube
vor dem Fußgestell montieren
1. Hängen Sie die Abdeckhaube (41/1) mit ihren
unteren Langlöchern in die Aufnahmestifte
(41/4) des Fußgestells ein.
2. Kippen Sie die Abdeckhaube Richtung
Fußgestell.
3. Kippen Sie die Abdeckhaube oben Richtung
Fußgestell, bis sie anliegt.
4. Drehen Sie mit dem Innensechskantschlüssel
(41/2) die beiden Innensechskantriegel
(41/3) Richtung Seitenteile Fußgestell.
Liegenplatte herunterklappen
1. Fassen Sie die Liegenplatte (42/1) mittig an
der vorderen Längsseite an und klappen Sie
diese auf die Liege herunter.
2. Drehen Sie beide Riegel (42/2) mit dem
Innensechskantschlüssel zurück, so dass die
Liegenplatte fest verankert ist.
Die BREEZE-Leitungen müssen bei der Erstin-
betriebnahme, nach Wartungsarbeiten am
BREEZE-System nach einem Behälterwechsel
und nach dem Wechsel der BREEZE- Düsen-
einheit entlüftet werden, siehe Kap. 6.6.2.
Anzahl der Sprühvorgänge auf Null setzen
Achtung! Anzahl der Sprühvor-
gänge im Programm Menü auf Null
setzen!
Achtung! BREEZE System entlüften!
Gehen Sie in das Programmmenü PrP4.
Drücken Sie im Programmmenü PRP4 die STOP-
Taste und anschliessend die Start und STOP Taste
gemeinsam 4 Sekunden lang.
Die bis jetzt gezählten Sprühvorgänge werden auf
Null gesetzt.
Gehen Sie dann weiter in das Programmmenü
PrP5, um das System zu entlüften.
Drücken Sie im Programmpunkt PrP5 (Entlüften)
die STOP-Taste max. 1 Minute lang, bis der
Düsenstrahl das Bild eines fein zerstäubenden
Kegels zeigt.
Trennen Sie das Gerät innerhalb von 5 Minuten
vom Netz, so werden die geänderten Parameter
gespeichert und aktiviert.
Warten Sie 1 Minute, bevor Sie die Pumpe des
BREEZE Systems erneutbetätigen.
Lesen Sie dazu auch Kap. 5.1 und das Bedien-
diagramm in Kap. 5.1.3.
7 TIPPS ZUR BESEITIGUNG
KLEINERER MÄNGEL
Bevor Sie mit Wartungs- und
Reparaturmassnahmen beginnen,
Gerät unbedingt vom Netz trennen.
Reparaturen sind nur durch die Fa.
uwe oder durch autorisierte
Personen durchzuführen.
Es dürfen keine Sicherheitsein-
richtungen demontiert oder ausser
Betrieb gesetzt werden.
Nach jeder Reparatur muss eine
Prüfung des Gerätes nach DIN VDE
0701 durchgeführt und protokol-
liert werden (mit Durchschlag).
Ein Exemplar des Protokolls
verbleibt beim Betreiber und ein
Exemplar bitte dem Kundendienst
der Fa. uwe zukommen lassen.
41
FunctionFunktion
42
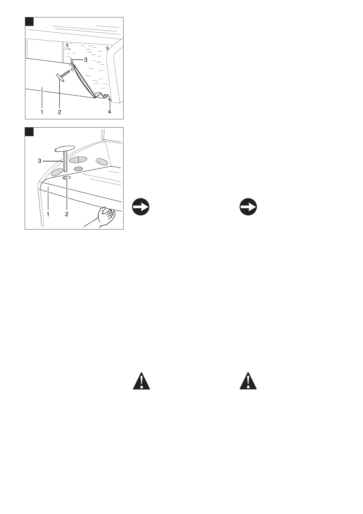
Removing the large cover
in front of the base
1. Insert the cover (41/1) with the bottom slots
into the location pins (41/4) of the base.
2. Tilt the cover a little towards the base.
3. Swing the cover at the bottom towards the
base until it fits closely.
4. Screw in the two hexagon socket bolts
(41/3) using the Allen key (41/2) towards
the side of the base.
Closing down bed panel
1. Hold on to the bed panel (42/1) at the front
long side and put it onto the bed.
2. Turn both bolts (42/2) with the Allen key
until the bed plate is secured firmly in place.
The BREEZE lines must be deventi-lated during
the initial commissioning, following service
work on the BREEZE system, after changing
the tank and the BREEZE nozzles, see chapter
6.6.2.
Reset number of sprayings to 0.
Attention! Reset number of
sprayings to 0 in the program menu!
Attention! The air must be bled out
of the BREEZE system!
Enter program menu PrP4.
Press the STOP button in the program menu
PrP4 and then press START and STOP button
simultan-eously for 4 seconds.
The number of sprayings is set to 0.
Go into Program Menu PrP5 to bleed the air from
the system.
In position PrP5 (Bleed BREEZE) press the STOP
button for max. 1 minute until the spray nozzle
shows a light spraying cone.
Disconnect equipment within 5 minutes to save
and activate the modified parameters again.
Wait 1 minute before reactivating the pump of
the BREEZE system.
See also Sec. 5.1 and the operating diagram Sec.
5.1.3.
7 TIPS FOR RECTIFYING SMALLER
FAULTS
Always unplug the unit before you
begin servicing and repair work.
Repairs must only be carried out
by uwe or authorized persons.
Safety features must not be
disassembled or put out of
operation.
The unit must be tested to DIN VDE
0701 and a report written (with
carbon copy) after all repair work
has been completed.
The operator must keep a copy of
the report and send a copy to the
Customer Service Department.
Warning
Warnung

Table of Contents