EasyManua.ls Logo

UWE CAYENNE S - Montage Fluter; Fitting the Canopy

UWE CAYENNE S
50 pages
Print Icon
To Next Page IconTo Next Page
To Next Page IconTo Next Page
To Previous Page IconTo Previous Page
To Previous Page IconTo Previous Page
Loading...
42
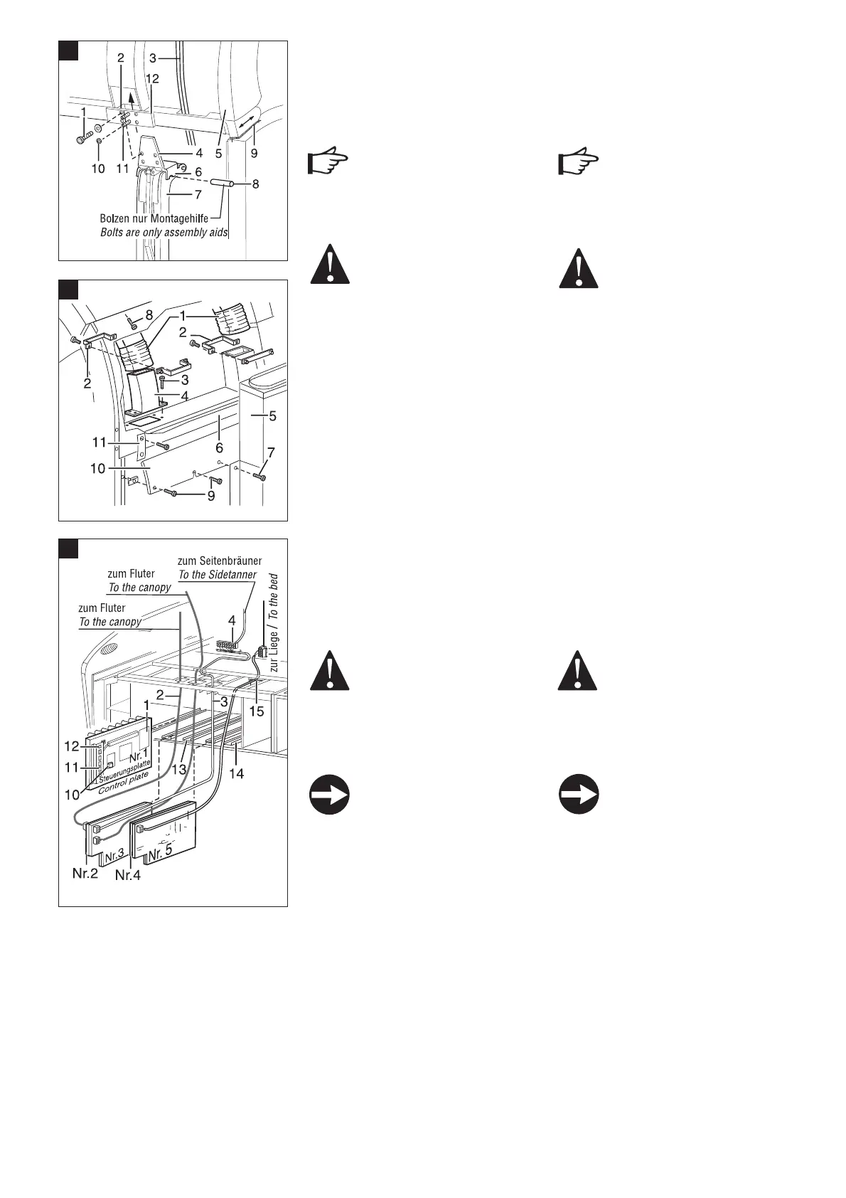
9.3.6 Montage Fluter
Fluter einhängen
1. Nehmen Sie den Fluter hoch. Halten Sie den
Fluter über die Haltearme (69/7).
2. Führen Sie die Laschen (69/4) der Haltearme
in die Aussparungen (69/2) des Fluters ein.
Die Aluminiumleiste (76/2) darf
beim Einhängen nicht beschädigt
werden!
3. Drehen Sie auf jeder Seite die vier Schrauben
8 x 20 (69/1) mit Scheiben ein.
Ziehen Sie die Schrauben
unbedingt fest.
4. Überprüfen Sie die Ausrichtung des Fluters
in Bezug zu den seitlichen Verkleidungsteilen
des Fußgestells.
Die schwarze Bürstendichtung (69/9) der
seitlichen Verkleidungsteile Fußgestell muss
locker an das Verkleidungsteil des Fluters
stossen (auf beiden Seiten).
Falls dies nicht so ist, justieren Sie den
Fluter auf der entsprechenden Seite bitte
nach.
5. Drehen Sie dazu die Schrauben (69/1) etwas
heraus.
6. Nehmen Sie einen Imbusschlüssel.
7. Drehen Sie beide Gewindestifte M 8 x 25
(69/11) hinein, wenn der Fluter Richtung
Geräterückseite bewegt werden soll.
8. Drehen Sie beide Gewindestifte M 8 x 25
(69/11) heraus, wenn der Fluter Richtung
Gerätevorderseite bewegt werden soll.
9. Drehen Sie die Sechskantmuttern M 8
(69/10) auf den Gewindestiften (69/11) fest.
10. Drehen Sie die 4 Befestigungsschrauben
(69/1) fest.
Ziehen Sie die Schrauben unbe-
dingt fest.
Falls Sie vorher den Montagevorschlag
befolgt haben:
11. Drücken Sie den Fluter herunter.
Entfernen Sie unbedingt die 2
Bolzen (69/8), die Sie durch die
Aussparungen auf jeder Haltearm-
seite eingeschoben haben.
Weiteres Vorgehen, Luftkanal montieren
1. Befestigen Sie den Luftkanal (70/4).
Drehen Sie dazu die 3 zugänglichen
Schrauben (70/3) ein.
Faltenbalge montieren
1. Ziehen Sie die Faltenbalge (70/1) nach unten.
2. Befestigen Sie die Faltenbalge mit den
entsprechenden Federbügeln (70/2) an den
Luftkanälen.
Kabel durchziehen
1. Ziehen Sie die drei Fluterkabel (70/3) nach
unten durch die entsprechenden Aus-
sparungen des Fußgestells hindurch zu den
entsprechend gleich bezeichneten Buchsen
auf den Montageplatten.
2. Stecken Sie die Stecker auf die Buchsen.
70
71
9.3.6 Assembly of Canopy
Fitting the canopy
1. Lift up the canopy. Hold the canopy above
the retaining brackets (69/7).
2. Insert the lugs (69/4) of the retaining
brackets into the holes (69/2) in the canopy.
Take care not to damage the
aluminium rail (76/2) when fitting!
3. Screw in the four screws 8 x 20 (69/1) with
washers on each side.
Make sure the screws are securely
tightened.
4. Check the alignment of the canopy in relation
to the side sections of the base.
The black brush seal (69/9) of the base side
covers must just make contact with the
housing of the canopy (on both sides).
If this is not the case please readjust the
canopy on the appropriate side.
5. To do this, loosen the screws (69/1) a little.
6. Take an Allen key for socket head screws.
7. Screw in both setscrews M 8 x 25 (69/11) to
move the canopy towards the back of the
unit.
8. Unscrew both setscrews M 8 x 25 (69/11)
to move the canopy towards the front of the
unit.
9. Fasten the hexagon nuts M 8 (69/10) on the
setscrews (69/11).
10. Tighten the four fixing screws (69/1).
Make sure the screws are securely
tightened.
If you followed the mounting instructions
above:
11. Press down the canopy.
Remove the 2 bolts (69/8) which
you pushed through the holes in
each of the retaining brackets.
Further procedure, Fitting the air duct
1. Fit the air duct (70/4).
Screw in the 3 accessible screws (70/3).
Fitting the bellows
1. Pull the bellows (70/1) down to the bottom.
2. Fasten the bellows to the air ducts with the
appropriate spring clips (70/2).
Pulling the cables through
1. Pull the three cables (70/3) to the bottom
through the holes in the base to the
appropriately marked sockets on the
mounting boards.
2. Connect the plugs to the sockets.
Wichtig!
Important!
Warnung
Warning
Warning
Warnung
Function
Funktion
72

Table of Contents