EasyManua.ls Logo

Vacmaster AM1202 - Technical Data; Recycling and Disposal; Plug and Fuse Replacement (UK & Ireland)

Vacmaster AM1202
20 pages
Print Icon
To Next Page IconTo Next Page
To Next Page IconTo Next Page
To Previous Page IconTo Previous Page
To Previous Page IconTo Previous Page
Loading...
13
GB
RECYCLING AND DISPOSAL
This marking indicates that this product should not be disposed with other household wastes
throughout the EU. The machine must be delivered in rigid packaging to avoid damage during
transportation. The packaging and the machine itself are manufactured from recyclable
materials and should be disposed of accordingly.
TECHNICAL DATA
Motor 220-240V ~ 50Hz
Power 124W
Air ow 15m
3
/min
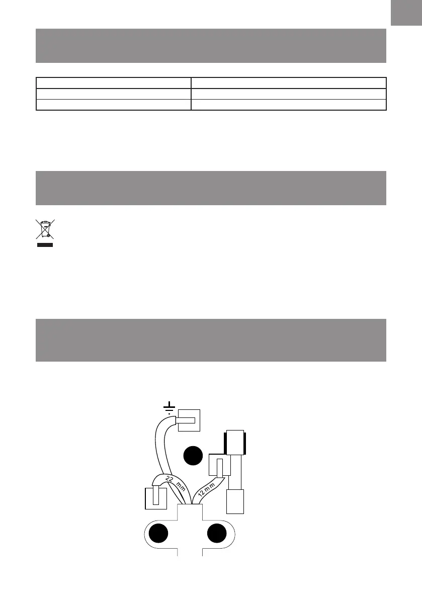
PLUG/FUSE REPLACEMENT (UK &
IRELAND ONLY)
This product is tted with a non-rewirable plug. If the plug has to be changed, refer to the picture
below.
6mm
6mm
FUSE
FITTED WITH BS 1362 13A FUSE
ALWAYS RT FIT BS 1362 REPLACEMENT
CARTRIDGE FUSE
6mm
32mm
E
L
N
13A
GREEN&
YELLOW
OR
GREEN
BROWN
OR
RED
CORD GRIP
BLUE
OR
BLACK

Related product manuals