EasyManua.ls Logo

Valore VPL-E30AS - Mounting the VPL Hood; VPL Hood Mounting Steps; Cable Lock and Wiring Safety

Default Icon
23 pages
Print Icon
To Next Page IconTo Next Page
To Next Page IconTo Next Page
To Previous Page IconTo Previous Page
To Previous Page IconTo Previous Page
Loading...
12
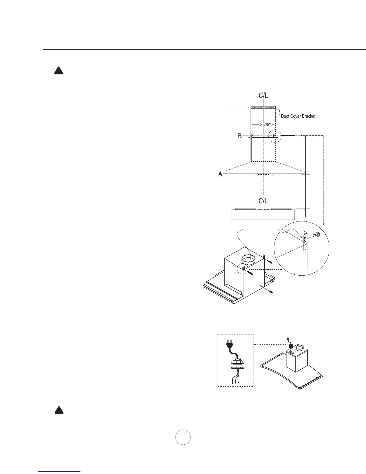
1. Measure from range top to hood bottom and mark line A.
(26” minimum from range top) .
2. Plum and mark center line.
3. Mark mounting height line B. (16-7/16” from line A)
4. Mark mounting spread from C/L. (8-7/8”)
5. Fasten (2) M4 x 1-1/2” screws into studs on line B but
do not tighten all the way. Note: wood blocking may
need to be added behind the drywall if no studs are
present. Wall anchors may also be used but check
local codes for compliance. Failure to use suitable
wall anchors and screws to hold the weight of the
hood could result in personal injury or damage to
cooking sureface or counter.
6. Remove the (2) metal mesh fi lters.
7. Remove the (2) charcoal fi lter brackets located inside
the hoood behind the metal mesh fi lters. Each bracket is
secured with (4) 3/16 x 6 Philips head screws. Note: If
you are not recirculating the hood you may discard
the charcoal brackets.
8. Hang hood onto the mounting screws and hand tighten
each screw. (fi g A) Secure third M4 x 1-1/2” screw
through inside of hood into wall for extra support. (fi g A2)
9. Center and attach duct cover mounting bracket to wall
just below the ceiling or soffi t using (2) M4 x 1” screws.
10. Install electrical and duct work. Seal duct work with
aluminum duct tape.
11. Power up hood and check for leaks around duct tape.
12. Place telescopic duct covers onto hood and extend
inner (top) duct cover upwards and secure to duct cover
bracket using (2) M3.5 x 8 screws. Secure bottom duct
cover to hood body by also using (2) M3.5 x 8 screws.
* If using hood in recirculating mode you must secure the air
diverter plate onto wall before installing duct work and
duct covers. Turn to page 14 for more details.
18-7/16
Brackets are
pre-installed
fig. A
fig. A2
26” min
CAUTION: At least two installers are
required due to the weight and size of the
hood.
!
WARNING: Electrical wiring must be done by a qualified person(s) in
accordance with all applicable codes and standards. This range hood must be
properly grounded. Turn off electrical power at service entrance before wiring.
!
Cable Lock
Cable Lock
A cable locking connector (not supplied) might
be required by local codes. Check with local
requirements and codes, purchase and install
appropriate connector if necessary.
Installation – Mounting the Hood VPL

Related product manuals