EasyManua.ls Logo

VDW EVERmed - Controls Overview; Description of Controls and Pushbuttons; Keyboard Safety Locking Protection; Visual Functioning Indications

VDW EVERmed
Print Icon
To Next Page IconTo Next Page
To Next Page IconTo Next Page
To Previous Page IconTo Previous Page
To Previous Page IconTo Previous Page
Loading...
10
VERS. 0816
Section 8 USER INSTRUCTIONS
The information in this section of the manual regards the user or other non-specialized personnel (see par. 1.3 in the “Instruction
and Maintenance Manual”). After the appliance has been installed in accordance with the instructions of section 3 of this manual, it
is ready for use.
8.1 CONTROLS
According to the models, the appliance is equipped of diffe≠rent types of controls:
- Control panel (Fig. 40)
- Temperature chart recorder (Fig. 11)
- Digital printer
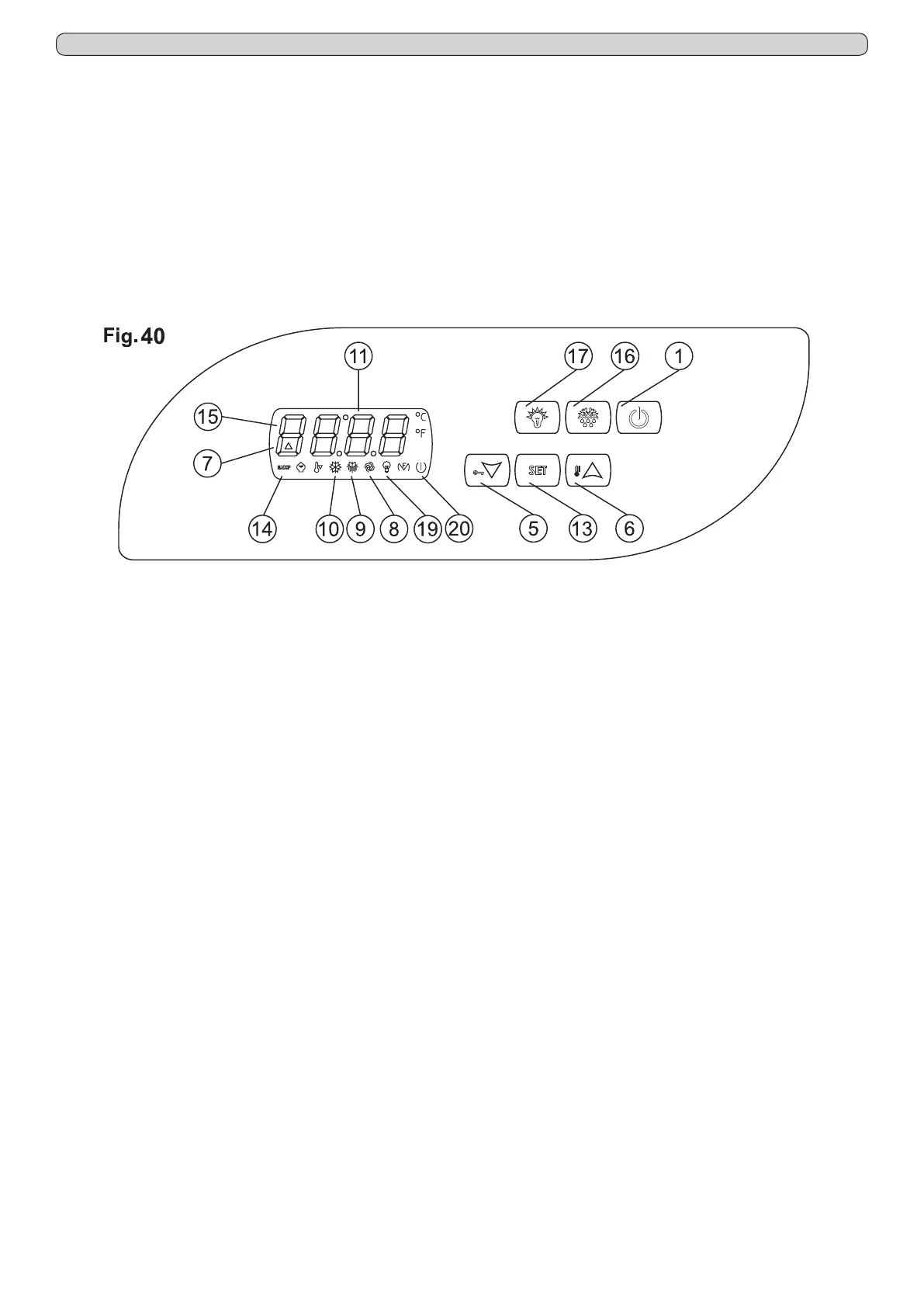
8.1.1 Description of controls and pushbuttons (Fig.40)
The internal temperature is automatically displayed and controlled through a digital control thermo-regulator and the lighting icons give
indication of the functioning status. The temperature controller is provided with 6 keys with the following specific functions:
- Display (11), to check temperature and operation of the machine.
- STAND-BY pushbutton (1). If pressed for 5 seconds light on the thermo-regulator
- SET pushbutton (13). If pressed allows the regulation of the working set of the machine
- UP pushbutton (6). It allows the increasing of the values, (higher temperature or higher values during the programming phase).
If pressed, signs on the display an alarm indicating “rLS”.
- DOWN pushbutton (5). If pressed allows the decrease of the values (lower temperature or lower values during programming phase).
If pressed, for more than 2 seconds, accede directly to the under menu of probes temperature, alarm visualization, compressor work-
ing hours and regulation of the internal watch.
- DEFROSTING pushbutton (16) progress a manual defrosting cycle.
- LIGHTING pushbutton (17) lights the internal lighting .
All the keys, if pressed, have also the function of silencing the buzzer of the thermo-regulator and memorize the possible alarms.
8.1.1.1 Keyboard safety locking protection
The control panel keyboard is provided with a keys locking protection, to avoid tampering from unauthorized personnel. The key lock-
ing protection has to be activated from the user if necessary.
- press at the same time DOWN and ON/STANDBY pushbuttons for 2 seconds and the display will show “Loc” (keyboard locked).
If the keyboard is locked, it will not be possible to execute any operation with the keys and if pressed the display will show “Loc”.
To unlock the keyboard:
- press at the same time DOWN and ON/STANDBY pushbuttons for 2 seconds and the display will show “UnL” (keyboard unlocked)
At this stage it will be possible to use again the keys and their functionalities.
8.1.2 Visual functioning indications (Fig. 40)
The thermo-regulator lights the following icons for functions in progress:
- ON/STANDBY Led (20), turns on when the machine is connected but in stand by.
- COMP led (10) lights steadily when the compressor is running, blinks in case of starting delay or when protection is active
- FAN led (8) lights steadily when the evaporator fan is working
- DEF led (9) lights steadily during defrosting cycle
- ALL led (7) lights steadily for alarm of temperature and probe faulty
- HACCP led (14) lights steadily or intermittent to signalized alarm of an HACCP memorized
In the thermo-regulator appears the followings signals for functions in progress:
- CH led (15) (adjustable wrench) lightly or intermittent signalizes a request of program maintenance for the compressor working hours.
- LI led (19) lightly when the internal light is on

Table of Contents