EasyManua.ls Logo

VDW EVERmed - French; Chapitre 8 INSTRUCTIONS POUR LUTILISATEUR; Contrôles; Description des Contrôles Et Boutons

VDW EVERmed
Print Icon
To Next Page IconTo Next Page
To Next Page IconTo Next Page
To Previous Page IconTo Previous Page
To Previous Page IconTo Previous Page
Loading...
15
VERS. 0816
Chapitre 8 INSTRUCTIONS POUR L’UTILISATEUR
Les informations contenues dans ce chapitre sont destinées à l’utilisateur ou aux personnes non spécialisées (voir paragraphe 1.3
du livret d’instruction et entretien)
Une fois installé, conformément aux instructions du chap. 3, l’appareil peut être considéré comme prêt à l’usage.
8.1 CONTRÔLES
L’appareil est équipé, selon les modèles, de différents types de contrôle:
- Panneau de contrôle (Fig. 40)
- Enregistreur graphique de température (Fig. 11)
- Imprimante électronique de température
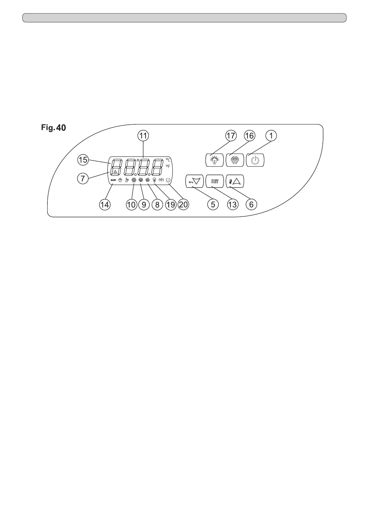
8.1.1 Description des contrôles et boutons (Fig.40)
Le panneau de contrôle permet d’avoir un affichage externe de la température de consigne grâce au thermorégulateur digital et
ses icônes lumineuses donnent une signalisation des états de fonctionnement. En plus, le thermorégulateur digital est doté de 6
boutons poussoirs avec fonctions spécifiques :
- Ecran (11) qui affiche la température et l’état de fonctionnement de l’appareil.
- Poussoir STAND-BY (1) qui, si pressé pendant 5 secondes, allume le thermorégulateur.
- Poussoir SET (13) qui, donne accès à la programmation de travail de l’appareil.
- Poussoir UP (6) qui augmente les valeurs (température plus haute ou valeurs, en phase de programmation, plus élevées).
Si enfoncé signale, sur l’écran, la présence d’une alarme indiquant “rLS”.
- Poussoir DOWN (5) qui diminue les valeurs (température plus basse ou valeurs, en phase de programmation, plus basses).
Si enfoncé pendant plus de 2 secondes donne accès aux sous menus d’affichage sondes de température et alarmes et réglage
horloge.
- Poussoir DEGIVRAGE (16) qui, si enfoncé, active un dégivrage manuel,
- Poussoir LUMIERE (17) qui, si enfoncé, active l’éclairage intérieur.
Tous les poussoirs si pressés ont la fonction de désactiver la sonnerie de l’alarme du thermorégulateur et mémoriser l’alarme en
cours.
8.1.1.1 Verrouillage clavier
Le clavier du panneau de contrôle est équipé d’une protection avec verrouillage afin d’éviter toute altération par le personnel non
autorisé. La protection doit être activé par l’utilisateur en cas de besoin.
- Appuyer simultanément le poussoir DOWN et ON/STANBY pour 2 secondes et l’écran affichera « Loc » (clavier verrouillé).
Si le clavier est verrouillé il ne sera pas possible d’effectuer aucune opération et si on presse un poussoir quelconque l’écran
affichera “ Loc ”.
Pour déverrouiller le clavier il faut :
- Enfoncer simultanément le poussoir DOWN et ON/STANDBY pendant 2 secondes et l’écran affichera « UnL » (clavier
déverrouillé).
A ce point, il sera possible utiliser les poussoirs et leur fonctionnalités de nouveau.
8.1.2 Indications visuelles de fonctionnement (Fig. 40)
Le thermorégulateur est doté d’icônes énumérées ci-dessous qui, si allumées, donnent l’indication de la relative fonction en cours :
- led ON/STANDBY (20) allumé lorsque l’appareil est alimenté mais en standby.
- led COMP (10) allumé lorsque le compresseur est en fonction, clignotant pour retard au déclenchement ou protection activée.
- led FAN (8) allumé lorsque le ventilateur de l’évaporateur est en fonction.
- led DEF (9) allumé pendant le dégivrage.
- led ALL (7) allumé pour alarme de température et senseurs défectueux.
- led HACCP (14) allumé ou clignotant signale une mémorisation d’alarme.
En plus, le thermoregulateur affiche les signalisations suivantes de fonctions en cours :
- led CH (15) (clé anglaise) allumé ou clignotant signale une requête de maintenance programmée par rapport aux heures de
fonctionnement du compresseur.
- led LI (19) allumé lorsque l’éclairage intérieur est en fonction.

Table of Contents