EasyManua.ls Logo

VDW EVERmed - Comandi; Descrizione Dei Comandi E Pulsanti; Blocco Tastiera; Indicazioni DI Funzionamento

VDW EVERmed
Print Icon
To Next Page IconTo Next Page
To Next Page IconTo Next Page
To Previous Page IconTo Previous Page
To Previous Page IconTo Previous Page
Loading...
5
VERS. 0816
Capitolo 8 ISTRUZIONI PER L’UTILIZZATORE
Le informazioni contenute in questo capitolo sono destinate all’utilizzatore oppure a personale non specializzato (vedi par. 1.3 Manuale
d’uso e manutenzione).
Una volta installata, secondo le istruzioni di cui al cap. 3 (vedi Manuale d’uso e manutenzione), la macchina è da considerare pronta
all’uso.
8.1 COMANDI
A seconda dei modelli la macchina verrà fornita controlli diversi:
- Pannello di comandi (Fig. 40)
- Registratore grafico di temperatura (Fig. 11)
- Registratore di temperatura a stampante
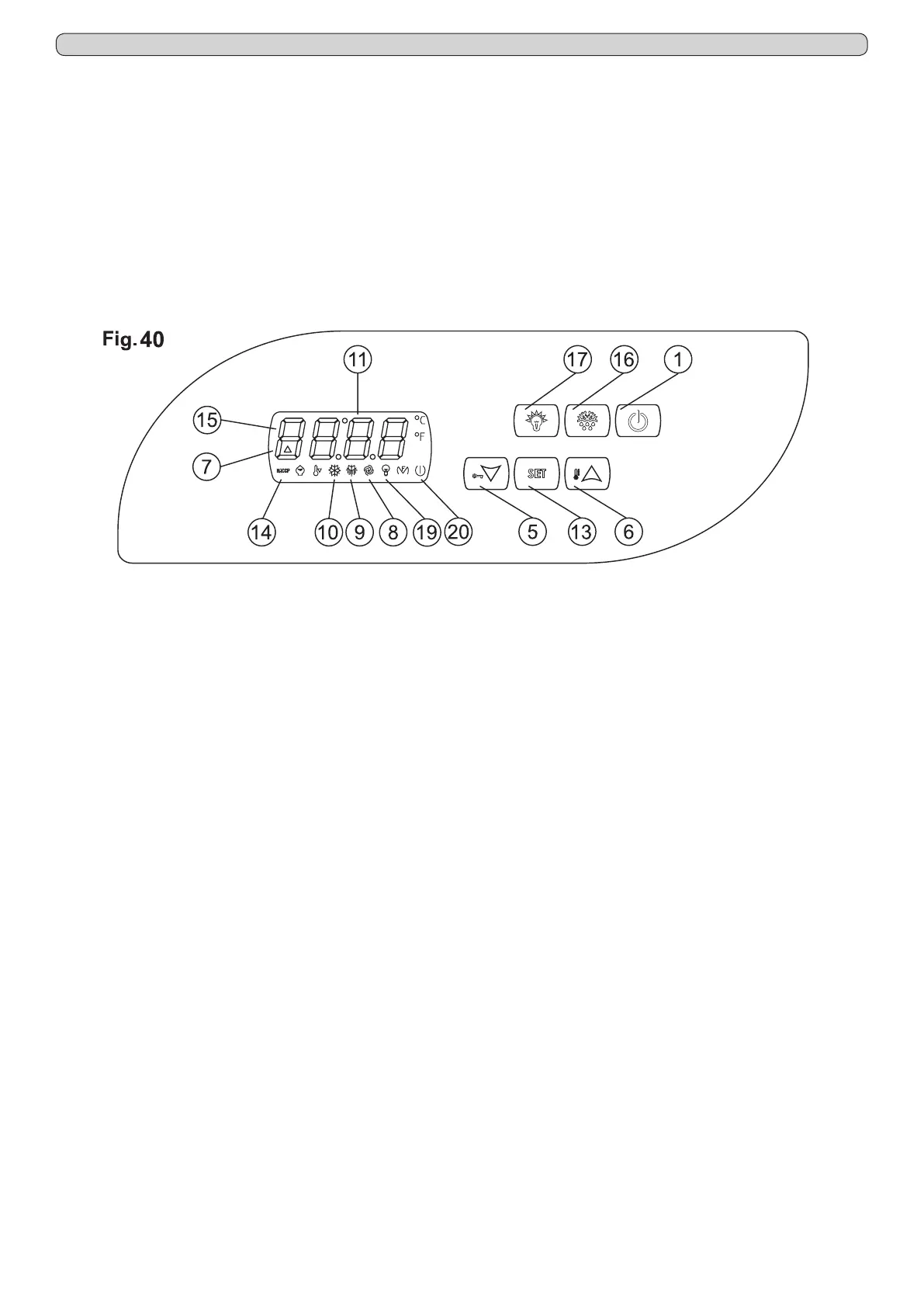
8.1.1 Descrizione dei comandi e pulsanti (Fig. 40)
La temperatura interna è visualizzata e regolata attraverso il display del termoregolatore digitale e le icone luminose danno segnala-
zione degli stadi di funzionamento. Inoltre il termoregolatore digitale è provvisto di 6 pulsanti con funzioni specifiche.
- Display (11) visore di temperatura e dello stato della macchina.
- Tasto STAND-BY (1) se premuto per 5 secondi accende il termoregolatore.
- Tasto SET (13). Consente di accedere alla regolazione del set di lavoro della macchina.
- Tasto UP (6). Consente l’incremento dei valori, (temperatura più alta o valori, in fase di programmazione, più alti). Se premuto segnala
sul display la presenza di un allarme indicando “rLS”.
- Tasto DOWN (5). Consente la diminuzione dei valori (temperatura più bassa o valori, in fase di programmazione, più bassi). Inoltre
se premuto per oltre 2 secondi accede al sotto menù di visualizzazione sonde di temperatura e visualizzazione allarmi e regolazione
orologio interno
- Tasto SBRINAMENTO (16). Consente di attivare uno sbrinamento manuale.
- Tasto ILLUMINAZIONE (17). Consente di attivare la luce interna.
Tutti i tasti se premuti hanno anche la funzione di tacitare il buzzer d’allarme del termoregolatore e memorizzare l’allarme in corso.
8.1.1.1 Blocco tastiera
La tastiera del pannello di controllo, è dotata di una protezione di blocco-pulsanti per evitare manomissioni da parte di personale non
autorizzato. La protezione deve essere attivata dall’utilizzatore in caso di necessità.
- premere contemporaneamente il tasto DOWN e ON/STANDBY per 2 secondi. Il display visualizzerà “Loc” (tastiera bloccata).
Se bloccata la tastiera non sarà possibile effettuare nessuna operazione ed alla pressione di qualsiasi tasto il display visualizzerà “Loc”.
Per sbloccare i tasti dalla protezione:
- premere contemporaneamente il tasto DOWN e ON/STANDBY per 2 secondi. Il display visualizzerà “UnL” (tastiera sbloccata).
A questo punto, sarà possibile utilizzare nuovamente i tasti e le loro funzionalità.
8.1.2 Indicazioni di funzionamento (Fig. 40)
Il termoregolatore dispone delle icone elencate qui sotto che, in caso siano illuminate, danno indicazione delle relative funzioni in atto:
- led ON/STANDBY (20) acceso quando l’armadio è alimentato ma fermo in standby.
- led COMP (10) acceso quando il compressore è in funzione, lampeggiante per ritardo alla partenza o protezione attivata.
- led FAN (8) acceso quando la ventola evaporatore è in funzione.
- led DEF (9) acceso durante lo sbrinamento.
- led ALL (7) acceso per allarme di temperatura e sonde guaste.
- led HACCP (14) acceso o lampeggiante per segnalare una memorizzazione allarme.
Sul termoregolatore inoltre compaiono le seguenti segnalazioni di funzioni in atto:
- led CH (15) (chiave inglese) acceso o lampeggiante segnala una richiesta di manutenzione programmata, per ore di funzionamento
compressore.
- led LI (19) acceso quando la luce interna è in funzione

Table of Contents