EasyManua.ls Logo

Viking FXI-1 - B. Recommended Wiring to Eliminate Idle Noise and Clicks; C. up to 6 FXI-1 Units Share 1 Power Supply - FXO or VOX (Powered) Mode; D. FXS (Ring Trip) Mode (Do Not Use the Included Power Supply)

Viking FXI-1
8 pages
Print Icon
To Next Page IconTo Next Page
To Next Page IconTo Next Page
To Previous Page IconTo Previous Page
To Previous Page IconTo Previous Page
Loading...
B. Recommended Wiring to Eliminate Idle Noise and Clicks
C. Up to 6 FXI-1 Units Share 1 Power Supply - FXO or VOX (Powered) Mode
D. FXS (Ring Trip) Mode (Do Not Use the Included Power Supply)
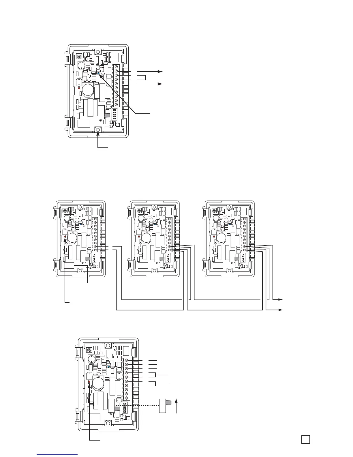
If the contacts are not used to activate the external paging amplifier, wire as shown to eliminate
idle noise and clicks.
9
8
7
6
To Paging Amplifier: Floating 600 ohm output.
Connect to input of paging amplifier.
Internal View of the FXI-1
(2) #6x3/4 panhead
screws (included)
Blue LED indicates that the FXI-1
is active (paging) in all modes.
Internal View of
the FXI-1
Internal View of
the FXI-1
Power Input
adapter included
To Additional
FXI-1 Units
2
1
Red power LED
must be ON
Up to 6 FXI-1 units can be wired as shown below and share a single 12V 500mA adapter. This is useful in the
FXO or VOX (powered) mode.
600 Ohm Audio Output to Paging Amplifier
Talk Battery
Switch
FXS
10
9
8
7
6
5
4
N.C.
COM
N.O.
Relay Contacts
FXS (Ringing Station) Input
Internal View of the FXI-1
Red power LED must be OFF
Note: DIP Switch 5 must be OFF,
see Programming section A.
3