EasyManua.ls Logo

VINCENT CD-S3 - English; Included in Delivery; Description of the Appliance

VINCENT CD-S3
Print Icon
To Next Page IconTo Next Page
To Next Page IconTo Next Page
To Previous Page IconTo Previous Page
To Previous Page IconTo Previous Page
Loading...
Vincent
22772266
Vincent
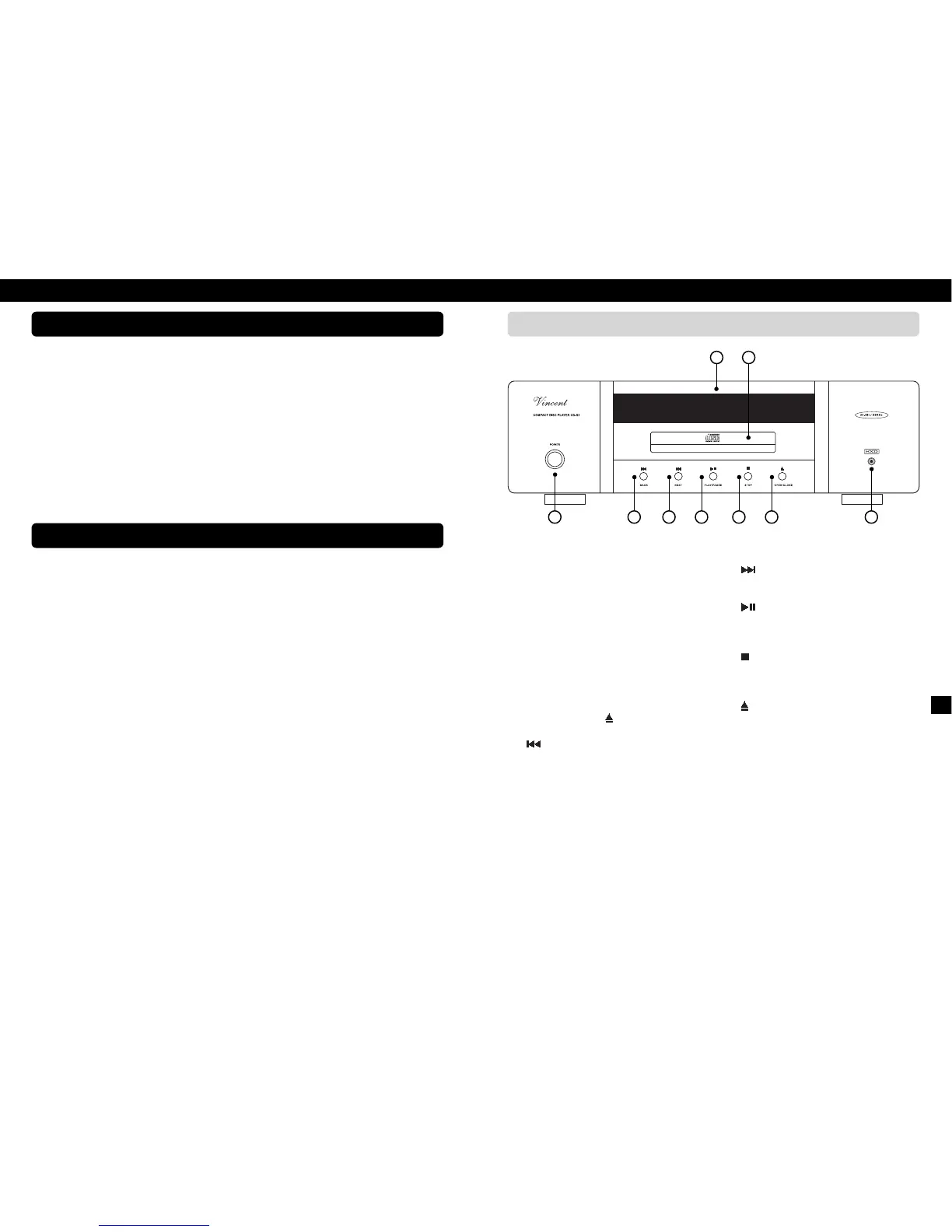
5. NEXT
Button for going forward one track.
6. PLAY/PAUSE
Button for starting or briefly interrupting the play-
back of the CD.
7. STOP
Stops the current playback of a CD or switches
from pause to the player’s initial state.
8. OPEN/CLOSE
Button for opening and closing the CD tray.
9. HDCD indicator LED
This LED is illuminated while an HDCD is being
played.
1. POWER
This is the main power switch for turning on and
off the device. When switched off, the device is
disconnected from the mains. The CD-S3 has no
standby option.
2. Display
The display shows track number, elapsed playing
time and other information.
3. Disc tray
This drawer can be opened or closed to insert
CD’s with the button “ OPEN/CLOSE”.
4. BACK
Button for going back one track.
INCLUDED IN DELIVERY
DESCRIPTION OF THE APPLIANCE
Please check the contents of the packaging, which in addition to the
appliance should contain the following accessories:
• 1 power cable
• 1 RCA cable
• 1 remote control VRC-1
• 2 AAA (LR3) batteries
• this manual
Many integrated amplifiers, pre or power ampli-
fiers built with transistors are designed as “Class
A” equipment. Here a transistor is operated in a
specific range of its characteristic curve in which
although the quiescent current and therefore the
power dissipation are higher than in Class AB
operation, audible non-linear distortions to the out-
put signal are lower. The sound characteristics of
amplifier components built up in this way have
many supporters.
Even in audio source devices there are amplifier cir-
cuits and with these too, the sound can be greatly
improved by sophisticated amplifier circuitry.
The CD-S3 is equipped with a “Class A” output
stage and it is the top model among Vincent’s CD
players with a transistor output stage. It is also the
most versatile player: HDCD capability, a symme-
trical analogue output (XLR), a coaxial digital
audio output and an optical digital audio output
are some of the other features.
The device harmonises visually with the other
audio components from Vincent’s Line 2. Together
with the tuner and the amplifier components in this
range a system can be assembled whose sound,
manufacturing quality and elegance are not com-
mon today.
FRONT VIEW
1 4 5 6 7 8 9
2
3

Related product manuals