EasyManua.ls Logo

VINCENT CD-S3 - Page 24

VINCENT CD-S3
Print Icon
To Next Page IconTo Next Page
To Next Page IconTo Next Page
To Previous Page IconTo Previous Page
To Previous Page IconTo Previous Page
Loading...
Vincent
44774466
Vincent
CCOONNTTEENNUU DDEE LLAA LLIIVVRRAAIISSOONN
DDEESSCCRRIIPPTTIIOONN DDEE LL''AAPPPPAARREEIILL
VVeeuuiilllleezz ccoonnttrrôôlleerr llee ccoonntteennuu ddee ll''eemmbbaallllaaggee.. LLeess aacccceessssooiirreess ssuuiivvaannttss
ddooiivveenntt êêttrree jjooiinnttss àà ll''aappppaarreeiill ::
11 ccââbbllee ddee ddiissttrriibbuuttiioonn
22 ccââbblleess aauuddiioo RRCCAA
11 ttééllééccoommmmaannddee «« CCDD PPLLAAYYEERR RREEMMOOTTEE CCOONNTTRROOLL »»
22 ppiilleess ddee ttyyppee AAAAAA ((LLRR33))
llee pprréésseenntt mmaannuueell
De nombreux amplificateurs, préamplificateurs et
amplificateurs de puissance équipés de transistors
sont construits avec des circuits de « Classe A ».
Un transistor est utilisé sur une plage définie de sa
courbe caractéristique, pour laquelle le courant
de repos et par conséquent la dissipation de puis-
sance sont plus élevés que pour l’utilisation en
classe AB, mais pour laquelle les distorsions non
linéaires audibles du signal de sortie sont plus fai-
bles. La caractéristique sonore des composants
d’amplificateur montés de cette manière est
appréciée de nombreux audiophiles.
Chaque appareil source audio comporte aussi
des circuits d’amplification pour lesquels un inve-
stissement technique supérieur peut considérable-
ment améliorer la qualité du son.
L’appareil CD-S3 a été équipé d’un étage de sor-
tie de « Classe A » et constitue le Top-Modèle des
lecteurs de CD de Vincent avec étage de sortie
transistorisé. Il est en même temps le lecteur le plus
polyvalent : compatibilité HDCD, une sortie ana-
logique symétrique (XLR), une sortie audio numéri-
que coaxiale et une sortie audio optique numéri-
que sont des caractéristiques d’équipements sup-
plémentaires.
Esthétiquement, l’appareil s’harmonise avec les
autres composants audio de la Ligne 2 de
Vincent. Avec le tuner et les composants d’ampli-
fication de cette série, on obtient un système, dont
le son, la qualité de la finition et l’élégance sur-
passent largement les produits couramment ren-
contrés dans le commerce.
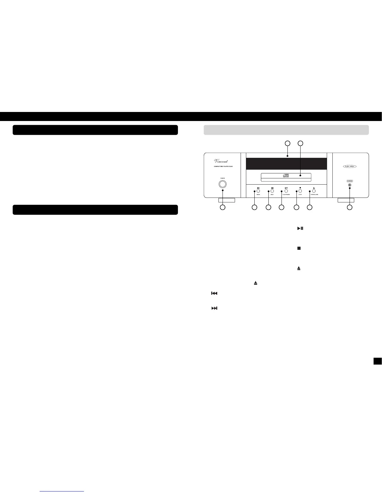
FFAACCAADDEE AAVVAANNTT
6. PLAY/PAUSE
Touche pour le lancement ou l’interruption mo-
mentanée de la lecture du CD.
7. STOP
Arrête la lecture en cours d’un CD ou passe de la
pause de la lecture à l’état de base.
8. OPEN/CLOSE
Touche pour ouvrir ou fermer le tiroir de charge-
ment du CD.
9. Affichage LED « HDCD »
Cette LED s’allume, pendant la lecture d’un
HDCD.
1. POWER : commutateur secteur
Sert à mettre l’appareil en MARCHE ou à l’ARRET.
L’appareil n‘a pas de mise en veille, il est coupé
de l’alimentation secteur.
2. Affichage avec programme musical
Le numéro du titre, le temps de lecture et d’autres
informations sont affichées.
3. Tiroir de chargement du CD
Ce tiroir peut être ouvert ou fermé pour le charge-
ment du CD avec la touche « OPEN/CLOSE ».
4. BACK
Touche pour sauter au titre précédent.
5. NEXT
Touche pour sauter au titre suivant.
1 4 5 6 7 8 9
2
3

Related product manuals