EasyManua.ls Logo

Viper 3002 - Page 9

Viper 3002
46 pages
Print Icon
To Next Page IconTo Next Page
To Next Page IconTo Next Page
To Previous Page IconTo Previous Page
To Previous Page IconTo Previous Page
Loading...
©
2006
Directed Electronics
5
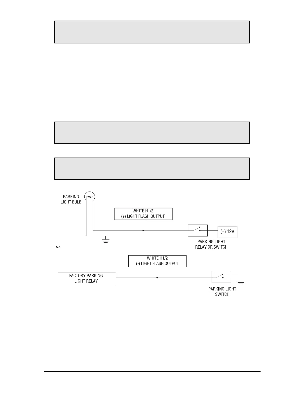
H1/11 WHITE (+/-) 10 A parking light flash output
The H1/11 WHITE wire is factory configured for (+) parking lights. Refer to the Programming
Jumper section of this installation guide for changing configuration for (-) parking light.
NOTE: For parking light systems that draw 10 amps or more, the jumper must be switched to a
(-) light flash output (see the Programming Jumpers section of this guide). P/N 8617 or a standard
automotive SPDT relay must be used on the H1/11 light flash output wire.
H1/12 ORANGE (-) ground-when-armed output
This wire supplies a (-) ground as long as the system is armed. This output ceases as soon as the
system is disarmed. It can supply up to 500 mA of current. This wire is affected by one time bypass,
if One Time Bypass is programmed On.
NOTE: A dual diode harness assembly is provided (Viper model only) for European
vehicles which have parking light capability for illumination of only the parking lights on
the side of the vehicle to the road when parked.
IMPORTANT! DO NOT connect this wire to a negative vehicle light flash wire before
changing the programming jumper to the negative polarity position or damage to
vehicle light circuit may occur.
IMPORTANT! Never use this wire to drive anything but a relay or a low-current input!
This transistorized output can only supply 200 mA, and connecting directly to a
solenoid, motor, or other high-current device will cause the module to fail.