EasyManua.ls Logo

ViTiny DiGi UM10 - Page 9

ViTiny DiGi UM10
40 pages
Print Icon
To Next Page IconTo Next Page
To Next Page IconTo Next Page
To Previous Page IconTo Previous Page
To Previous Page IconTo Previous Page
Loading...
7
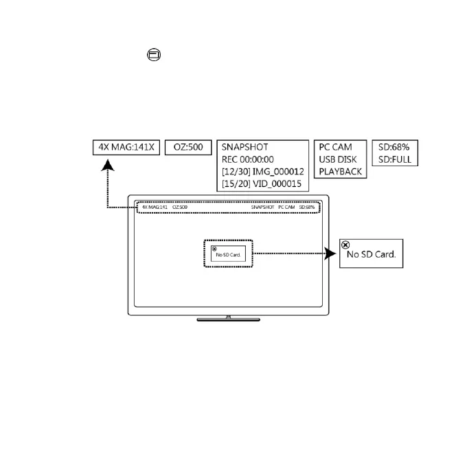
(16) Status Bar Status bar tells
d
Field of View (FOV),
Magnification (MAG), and Working Distance (WD) or ON/OFF
the status. The areae tells the operation status and only show
3 seconds.
(16-1) Area
d
(16-1-1) FOVField of View (FOV) display image on the
effective horizontal size of screen.
(16-1-2) MAG(Magnification) The magnification size will
e
d
h
i

Related product manuals