EasyManua.ls Logo

ViTiny VT300 PLUS - 1.4 Microscope Programming Functions; Function Modes Overview; Camera Observation Mode Settings

ViTiny VT300 PLUS
36 pages
Print Icon
To Next Page IconTo Next Page
To Next Page IconTo Next Page
To Previous Page IconTo Previous Page
To Previous Page IconTo Previous Page
Loading...
8
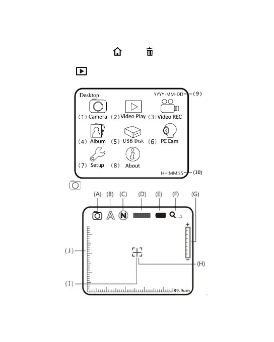
1.4 Microscope Programming Functions
There are 8 function modes in the programming interface.
Press the Function Menu /Delete button to switch functional
modes in the Camera. In other modes, press the button of Preview
Photo /Back to back to the Menu and switch function as
displayed in the following image:
(1) Camera : Observation mode.

Related product manuals