EasyManua.ls Logo

Vivotek SD9366-EH-v2 - Page 14

Vivotek SD9366-EH-v2
473 pages
Print Icon
To Next Page IconTo Next Page
To Next Page IconTo Next Page
To Previous Page IconTo Previous Page
To Previous Page IconTo Previous Page
Loading...
VIVOTEK
14 - User's Manual
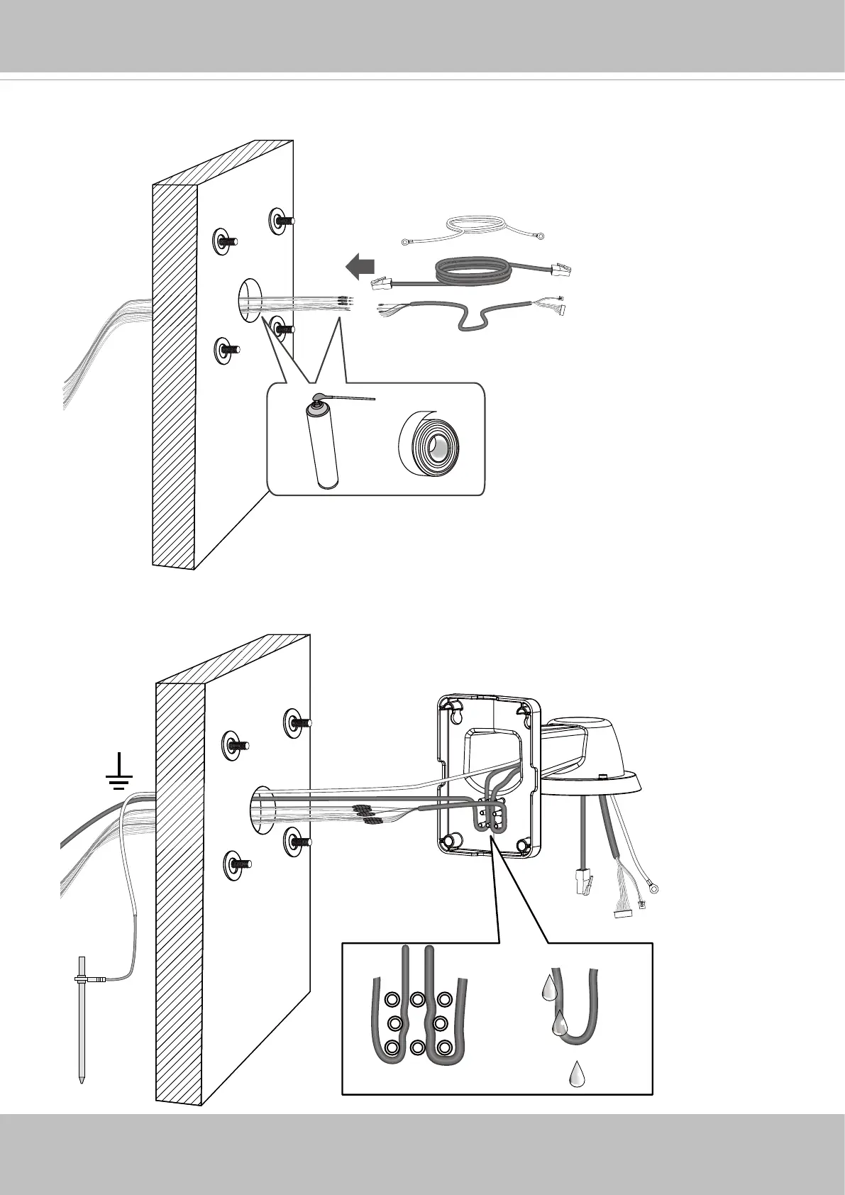
5. Connect power or I/O wires, and use foam tapes or seal foam to ensure the back-end
connection is waterproof.
6. Route your I/O combo and Ethernet cables along the routing guide poles to form drip loops.
LAN I/O combo

Table of Contents

Other manuals for Vivotek SD9366-EH-v2

Related product manuals