EasyManua.ls Logo

Void Bias V9 - Page 9

Default Icon
48 pages
Print Icon
To Next Page IconTo Next Page
To Next Page IconTo Next Page
To Previous Page IconTo Previous Page
To Previous Page IconTo Previous Page
Loading...
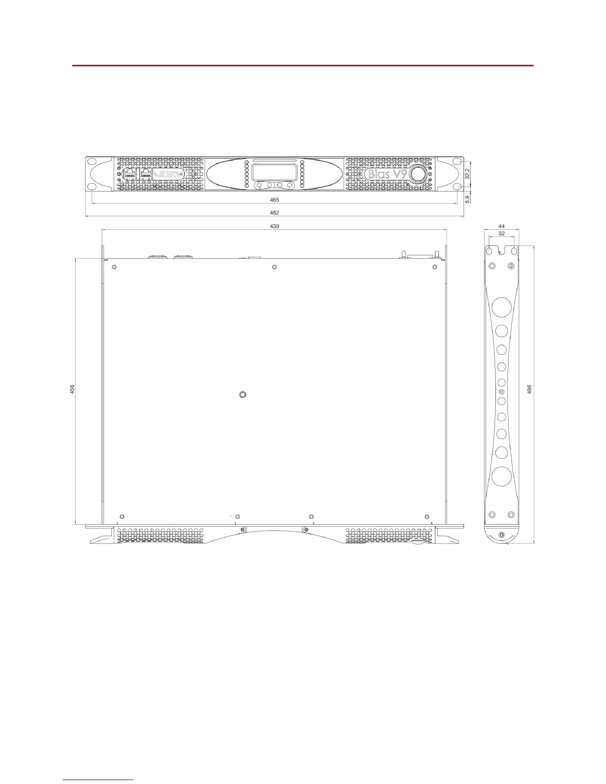
FIGURE 3: Bias V9 mechanical drawings.
Bias Series User Guide V1.0
Page 3

Table of Contents

Related product manuals