EasyManua.ls Logo

Volvo B 200 E - Knock-Controlled Fuel Enrichment

Volvo B 200 E
108 pages
Print Icon
To Next Page IconTo Next Page
To Next Page IconTo Next Page
To Previous Page IconTo Previous Page
To Previous Page IconTo Previous Page
Loading...
Group
28
Ignition
systems
Design
and
function
Compensation
functions
147 101
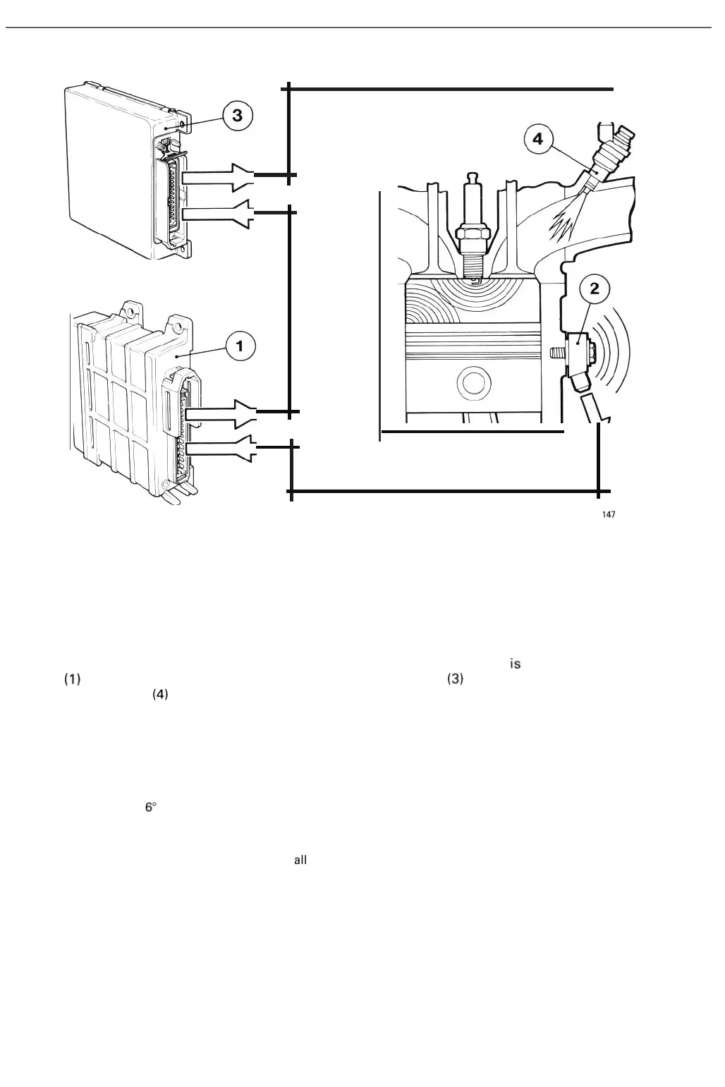
Knock-controlled
fuel
enrichment
Knock-contro
l
led
fuel
enrichment
means
that
the
injector
opening
period
is
extended
to
enrich
the
fuel/air
mixture,
reducing
th
e
combustion
temperature
and
br
in
ging
the
uncontrolled
combustion
under
control.
The
function
is acti-
vated
if
the
igni
t
ion
system
control
unit
detects
that
knock is
occurring
in
all
cylinders
above
a
certain
threshold
value.
On
re
ceiving
a
signal
from
the
knock
sensor
(2)
and
having
established
that
knock
is
present
in
all
cylinders,
the
con-
trol
unit
(1)
connects
a
terminal
on
the
fuel
injection
system
contro
l
unit
(3)
to
ground,
causing
the
latter
to
transmit
a
signa
l
to
the
injectors
(4)
to
extend
the
opening
period.
Kno
ck
-con
trolled
fuel
enrichment
is
a
feature
of
EZ-117K on
the
B230FT
engine,
and
of
all
variants
of
EZ-11SK
and
EZ
-1
16K.
* The function
is
activated only within a certain speed and load range, in addition to which acertain average knock-controlled retar-
dation must already have been applied in all cylinders. The following conditions
are
requ ir
ed
for the intervention of the knock-
controlled fuel enrichment function on the various ignition systems/engines:
-
EZ
-l17K
on
B230FT:
6"
retardation in all cylinders in response to knock detector signals.
-
EZ
-
115K
on B280E
/F:
Retardation of at least
10
° in all cylinders
in
response to knock detector signals
at
engine speeds above
3800
r/min and above a certain minimum load.
-
EZ
-1
16K
on 8
234
F:
Retardation of
at
least
3--4
0in all cylinders
in
response to knock detector signals
at
engine speeds above
3800
r/min and above a certain minimum lo
ad
.
39

Related product manuals