EasyManua.ls Logo

Wacker Neuson G50 - Control del Generador

Wacker Neuson G50
84 pages
Print Icon
To Next Page IconTo Next Page
To Next Page IconTo Next Page
To Previous Page IconTo Previous Page
To Previous Page IconTo Previous Page
Loading...
1C-14
1C OPERACION G50/G70/G85
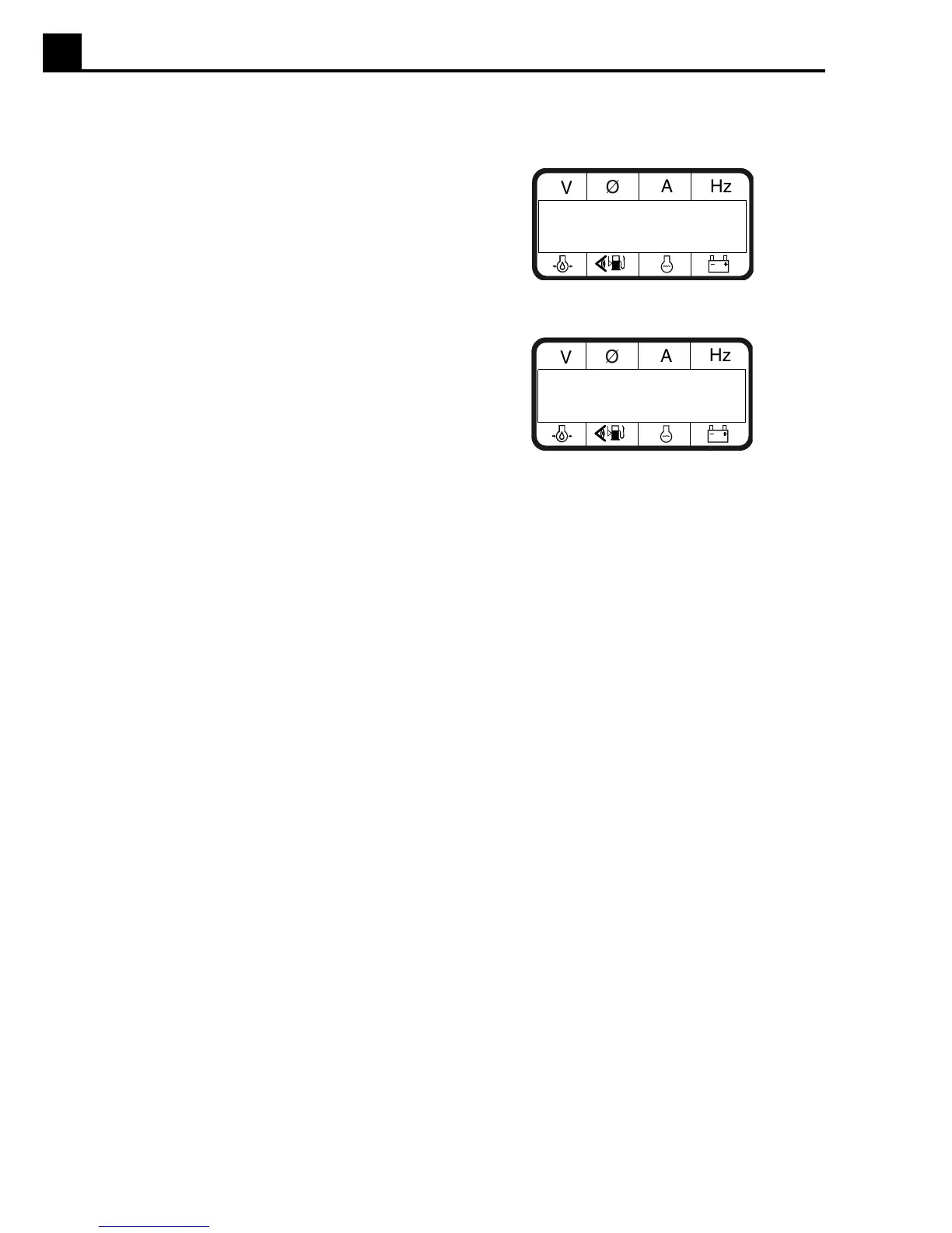
1026SD65
V
A
Hz
Ø
208 1 24 61.5
78 85% 175 14.3
(Ejemplo del display con el motor en marcha)
(Ejemplo del display con el motor en modalidad „auto“)
V
A
Hz
Ø
UNIT IN AUTO
O 100% 85 13.2
1.10 Control del generador
Las informaciones sobre el motor serán presentadas en
la línea superior del display de cristal líquido LCD y
avanzadas en forma continua mientras que se encuentre
en marcha el generador. Se podrán observar los valores
de la tensión, del amperaje y de la frecuencia de cada
fase.
Nota:
Empuje el interruptor ENG HRS hacia abajo para
evitar que avance el display.
Tensión „V“ - Indica el valor de la tensión alterna (CA)
suministrada por el generador.
Fase „Ø“ - Indica cual es la fase que está siendo
presentada en ese momento.
Amperaje „A“ - Indica el amperaje de la corriente
alterna suministrada por el generador. La indicación del
amperaje suministrado será igual a 0 si el generador está
trabajando en vacío (sin carga).
Hertz (ciclos) „Hz“ - Exhibe la frecuencia suministrada.
Bajo condiciones de trabajo en vacío (sin carga) la
frecuencia deberá ser de aproximadamente 61.5 Hz.
Controle el n° de r.p.m. del motor si la frecuencia indicada
resultara más alta.

Table of Contents

Related product manuals