EasyManua.ls Logo

Waring BB300 - Instructions de Mise À la Terre; Avant la Première Utilisation

Waring BB300
36 pages
Print Icon
To Next Page IconTo Next Page
To Next Page IconTo Next Page
To Previous Page IconTo Previous Page
To Previous Page IconTo Previous Page
Loading...
26
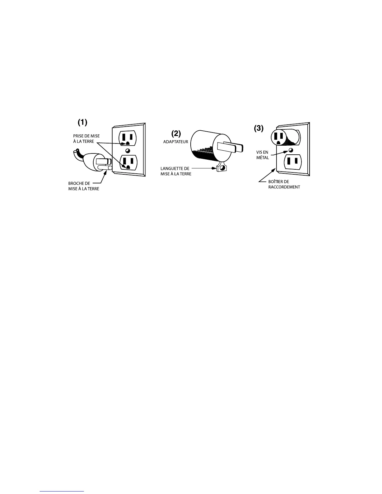
INSTRUCTIONS DE MISE À LA TERRE
Pour votre protection, votre appareil est doté d'un cordon
à trois ls de mise à la terre.
Les appareils de 120V sont équipés d'une che à trois
broches. Cette che doit être branchée dans une prise
de terre correctement congurée (Fig. 1).
Vous pouvez utiliser un adaptateur temporaire (Fig. 2) pour
brancher lappareil dans une prise polarisée jusquà ce que
vous fassiez installer une prise de terre par un électricien.
An d'assurer la mise à la terre, la languette de ladaptateur
doit être xée au boîtier par une vis en métal (Fig. 3).
MISE EN GARDE: vérier que le boîtier est mis à la terre
avant d'utiliser l'adaptateur. En cas de doute, demander
conseil à un électricien.
Ne jamais utiliser un adaptateur, à moins qu'il ne soit
correctement mis à la terre.
REMARQUE: l’utilisation dun adaptateur comme celui
mentionné ci-dessus est interdite au Canada.
AVANT LA PREMIÈRE UTILISATION
Avant la première utilisation et si vous n'avez pas utili
l'appareil pendant un certain dans, suivre les instructions de
nettoyage de la section "Nettoyage et désinfection" (page8).
Bien sécher le récipient avant de le placer sur le socle.

Related product manuals