EasyManua.ls Logo

Waring BB300 - Grounding Instructions; Proper Grounding Methods; Before First Use; Initial Cleaning and Preparation

Waring BB300
36 pages
Print Icon
To Next Page IconTo Next Page
To Next Page IconTo Next Page
To Previous Page IconTo Previous Page
To Previous Page IconTo Previous Page
Loading...
4
GROUNDING INSTRUCTIONS
For your protection, Waring
®
Commercial Blenders are
equipped with a 3-conductor cord set.
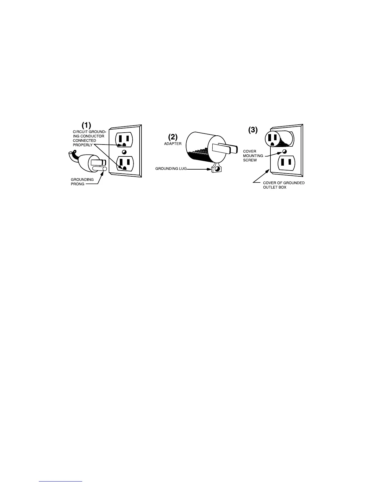
120 volt units are supplied with a molded 3-prong
grounding-type plug and should be used in combination
with a properly connected grounding-type outlet, as
shown in Figure 1.
If a grounding-type outlet is not available, an adapter, shown
in Figure 2, may be obtained to enable a 2-slot wall outlet to
be used with a 3-prong plug.
Referring to Figure 3, the adapter must be grounded by
attaching its grounding lug under the screw of the outlet
cover plate.
CAUTION: Before using an adapter, it must be determined
that the outlet cover plate screw is properly grounded. If in
doubt, consult a licensed electrician.
Never use an adapter unless you are sure it is properly
grounded.
NOTE: Use of an adapter is not permitted in Canada.
BEFORE FIRST USE
Follow the cleaning and sanitizing instructions on page 8
before rst use and if you have not used your blender for a
period of time. Thoroughly dry the container before placing it
on the base.

Related product manuals