EasyManua.ls Logo

WARRIOR W0700R - Operations; 5.1 Electrical Operation; 5.2 Blade Elevation and Tilting Adjustment

WARRIOR W0700R
27 pages
Print Icon
To Next Page IconTo Next Page
To Next Page IconTo Next Page
To Previous Page IconTo Previous Page
To Previous Page IconTo Previous Page
Loading...
16
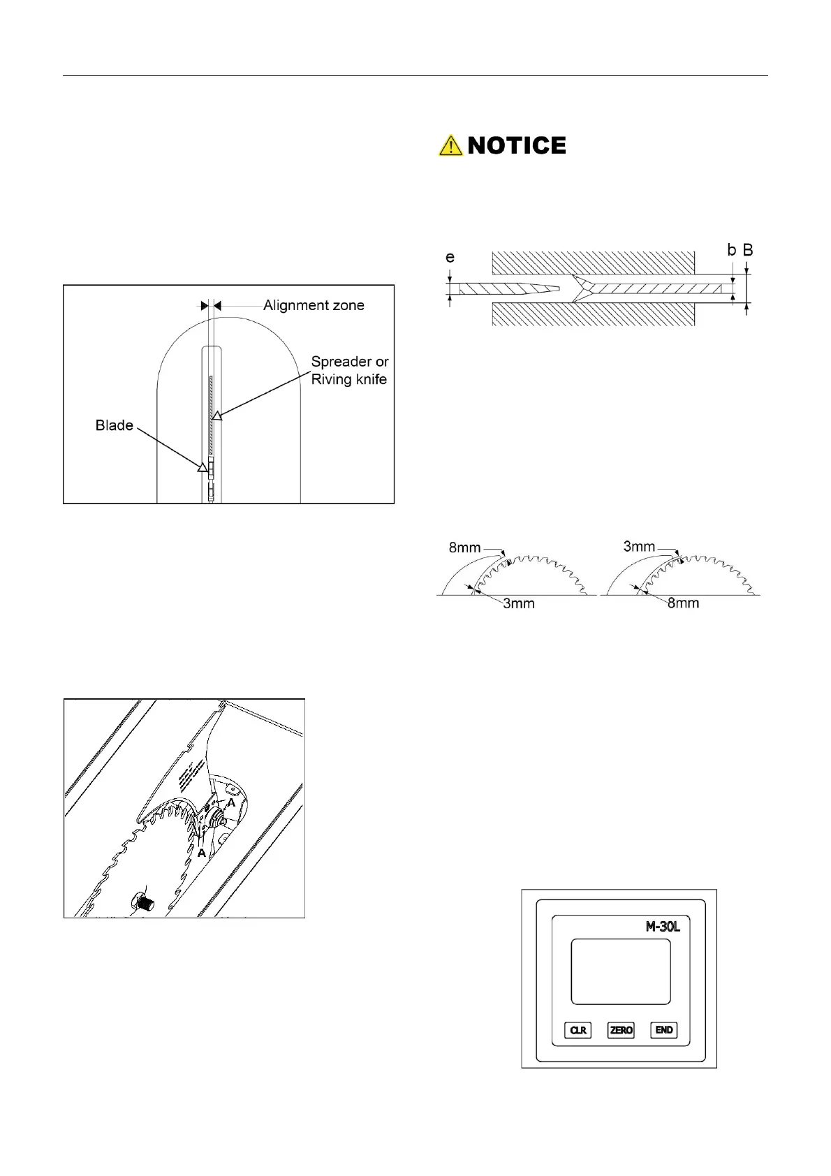
4.4 Aligning the Riving Knife with Blade
The riving knife must be aligned with the blade. If
not properly aligned, the riving knife will force the
workpiece sideways during the cut, increasing the
risk of kickback. Place a straightedge against the
blade and the riving knife and check if the riving
knife is in the "alignment zone," refer to Fig. 24.
Fig. 24
If it is not aligned properly, please adjust as
following (Fig. 25):
1.
Disconnect the saw from the power source.
2.
Remove the table insert.
3.
Adjust the set screws (A) in or out until the
alignment is perfectly parallel.
4.
Re-install the table insert.
Fig. 25
1.
Riving knives
shall have a thickness less than
the width of a cut (kerf) and at least 0.2mm
greater than the saw blade plate. As shown in Fig. 26.
Fig. 26
Key:
e riving knife thickness
b saw blade base
B kerf (width of saw blade cut)
2.
The distance of the riving knife from the gear rim
must be between 3 mm and 8 mm measured
radially through the center of the saw spindle. As
shown in Fig. 27.
Fig. 27
3.
The highest point of the riving knife must be set
beneath the topmost teeth.
4.5 Calibrating the Saw Blade Angle DRO
(Optional)
1.
Useing the square to adjust the saw blade to 90°.
2.
Press the ZERO button for few second, untill the
number on screen showing 0.
3.
Useing the square to adjust the saw blade to 45°.
4.
Press the END button for few second, untill the
number on screen showing 45.
Fig. 28

Related product manuals