EasyManua.ls Logo

Waterite Fusion 2 - Installer Settings; Regeneration Time & Days Between (1-99 day option); Regeneration Time & Days Between (1-7 day option)

Waterite Fusion 2
12 pages
Print Icon
To Next Page IconTo Next Page
To Next Page IconTo Next Page
To Previous Page IconTo Previous Page
To Previous Page IconTo Previous Page
Loading...
5
INSTALLER SETTINGS
STEP 1ID
STEP 2ID
STEP 3ID
REGENERATION TIME & DAYS BETWEEN (1-99 day option)
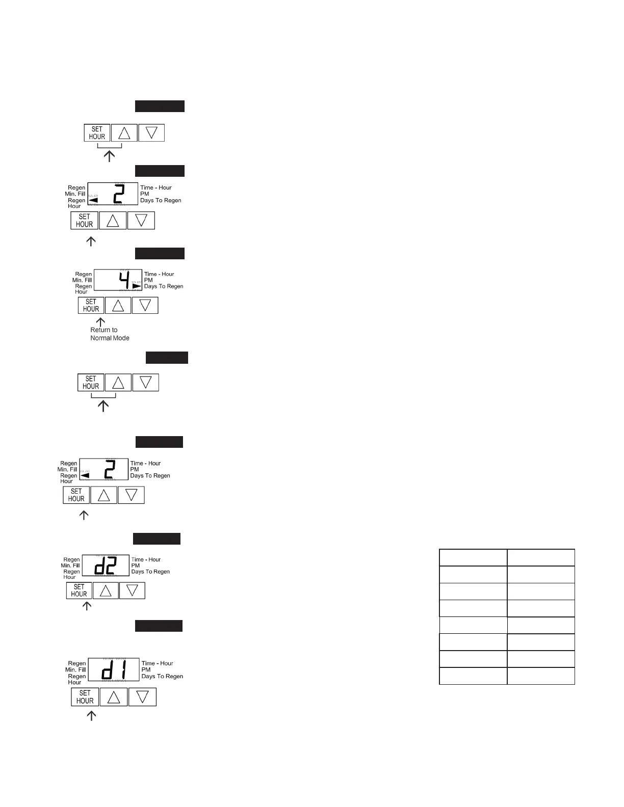
STEP 1ID From normal mode, press SET HOUR + UP buttons simultaneously for 3
seconds and release.
Set Regeneration Time
STEP 2ID Regeneration Time: Set the clock to the hour the regeneration should occur
by using the UP or DOWN buttons. An arrow points to PM after 12.
Press SET HOUR to go to STEP 3ID.
Set Days between Regenerations (1-99)
(The choice of 1-99 days or 1-7 days is set in Step 4SS)
STEP 3ID Days To Regen: Set the number of days between regenerations.
The allowable range is 1 to 99.
Press SET HOUR to exit.
STEP 1I7
REGENERATION TIME & DAYS BETWEEN (1-7 day option)
(The choice of 1-99 days or 1-7 days is set in Step 4SS)
STEP 1I7 From normal mode, press SET HOUR + UP buttons simultaneously for
3 seconds and release.
Set Regeneration Time
STEP 2I7
STEP 3I7
STEP 4I7
STEP 2I7 Regeneration Time: Set the clock to the hour the regeneration should occur
by using the UP or DOWN buttons. An arrow points to PM after 12.
Press SET HOUR to go to STEP 3I7.
Choose Days for Regeneration (1-7 day option)
STEP 3I7 ACCESS DAY OF THE WEEK CODES by
using the UP or DOWN buttons.
Press SET HOUR to go to STEP 4I7.
STEP 4I7 d1, Sunday, will be
displayed. (See chart at right for day
codes).
To regenerate on Sunday use the UP or DOWN
button until the arrow points to Regen.
To SKIP Sunday, use UP or DOWN to remove arrow from Regen.
Press SET HOUR to go to d2, Monday.
Repeat procedure of using UP or DOWN to select or skip REGEN and using SET HOUR
to advance to next day.
After d7 the display will return to the normal operating display.
DISPLAY
DAY OF WEEK
d1
Sunday
d2
Monday
d3
Tuesday
d4
Wednesday
d5
Thursday
d6
Friday
d7
Saturday

Related product manuals