EasyManua.ls Logo

weBoost Home Room - Page 8

weBoost Home Room
20 pages
Print Icon
To Next Page IconTo Next Page
To Next Page IconTo Next Page
To Previous Page IconTo Previous Page
To Previous Page IconTo Previous Page
Loading...
6
CELL PHONE SIGNAL BOOSTER HOME ROOM
______
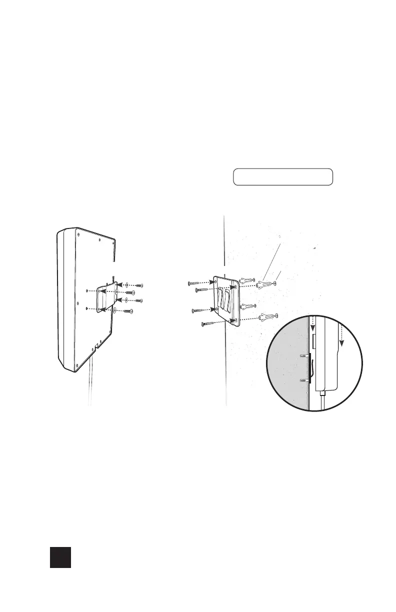
(STEP 2-B cont.)
Drill holes using
3/16 inch bit
Tap anchors in
Fasten bracket to back
of Outside Antenna
Secure bracket to wall
mounting
Outside Antenna
on wall bracket
sideview
Wall Mounting Option

Related product manuals