EasyManua.ls Logo

Wegener iPump - iPump Specifications

Default Icon
16 pages
Print Icon
To Next Page IconTo Next Page
To Next Page IconTo Next Page
To Previous Page IconTo Previous Page
To Previous Page IconTo Previous Page
Loading...
iPump Quick Start Guide 9
800009-02 Rev.B
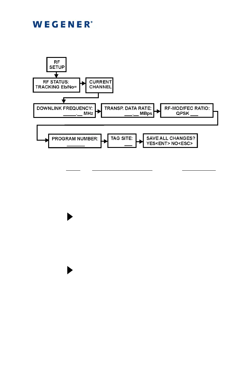
From RF Setup, adjust RF settings as follows:
Press
Display / Field Details Screen Type
g)
ENTER
RF STATUS:
TRACKING: Eb/No = XX.X
Data
Display
RF status is shown. If tracking,
then E
b
/N
0
is also displayed.
h)
CURRENT CHANNEL
Menu
i)
ENTER
DOWNLINK FREQUENCY:
XXXXX.XX MHz
User Input -
Editable
Enter downlink frequency from
the LNB local oscillator in
megahertz.
j)
TRANSP. DATA RATE:
XXX.XX Mbps
User Input -
Editable
Enter transport stream data
rate in megabits per second.

Other manuals for Wegener iPump

Related product manuals