EasyManua.ls Logo

Weller PYROPEN - Page 12

Weller PYROPEN
Print Icon
To Next Page IconTo Next Page
To Next Page IconTo Next Page
To Previous Page IconTo Previous Page
To Previous Page IconTo Previous Page
Loading...
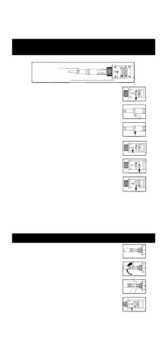
ATTENZIONE:
Assicurarsi che la leva per i fori di accensione sia in posizione
arretrata. Deve essere portata in avanti quando I’attrezzo e’ in
funzione.
1. Posizionare la leva su “ON”.
2. Accendere il gas avvicinando un accendino ai fori di accensione.
3. Attendere fino a che I’interno diventi rosso-
4. Chiudere i fori di accensione spingendo in avanti laleva.
Chiudendo i fori la fiamma si spegne e la miscela aria/gas in con-
tatto con il catalizzatore produce calore.
5. Controllo della temperatura della punta o del flusso d’aria.
6. Per spegnere muovere la leva principale dek gas sulla posizione
“OFF”fino al suo blocco.
Per temperature più basse della posizione 1 springere la leva prin-
cipale sulla posizione “OFF” e riaprirla nuovamente dopo tre
secondi. In questo caso si ottiene come risultato un più basso
calore generato dal catalizzatore. Se la temperature è ancora troppo alta ripetere que-
sta operazione.
ATTENZIONE:
Quando di usa la punta saldante, dal foro di scarico sulla punta stessa esce aria
calda. Evitare bruciature.
1. Togliere la punta ed il relativo fermapunta.
2. Spingere la leva dei fori d’accensone in avanti; appariranno dei
piccoli fori sull’eiettore saldante. Inserire I’apposita chiavetta a
perno in uno dei piccoli fori ed allentare I’eiettore saldante.
Rimuovere I’eiettore saldante.
3. Montare I’eiettore a torcia al posto dell’eiettore saldante rimos-
so. Avvitare e stringere con I’apposita chiavetta.
4. Portare la leva dei fori di accensione all’indietro.
USO DELL’UTENSILE CON PUNTE SALDANTE O CON
UGELLO PER I’ARIA CALDA
USO DELL’UTENSILE CON TORCIS
11
Foro di scarico
dell’aria
Leva per i fori
di accenzione
1
2
3
4
5
6
1
2
3
4
PK Elektronik Vertriebs GmbH, E-Mail: info@pkelektronik.com, Internet: www.pkelektronik.com

Related product manuals