EasyManua.ls Logo

Wen 3403 - Page 12

Wen 3403
16 pages
Print Icon
To Next Page IconTo Next Page
To Next Page IconTo Next Page
To Previous Page IconTo Previous Page
To Previous Page IconTo Previous Page
Loading...
12
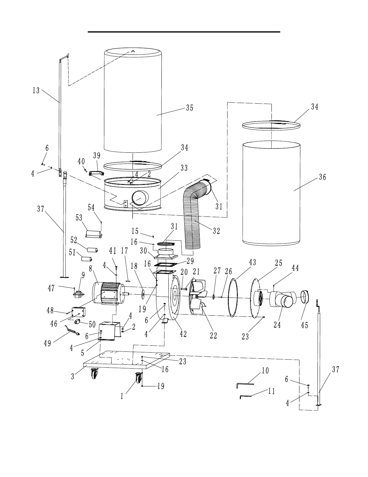
EXPLODED VIEW AND PARTS LIST

Related product manuals