EasyManua.ls Logo

Westerbeke 50 - Page 58

Westerbeke 50
119 pages
Print Icon
To Next Page IconTo Next Page
To Next Page IconTo Next Page
To Previous Page IconTo Previous Page
To Previous Page IconTo Previous Page
Loading...
EO
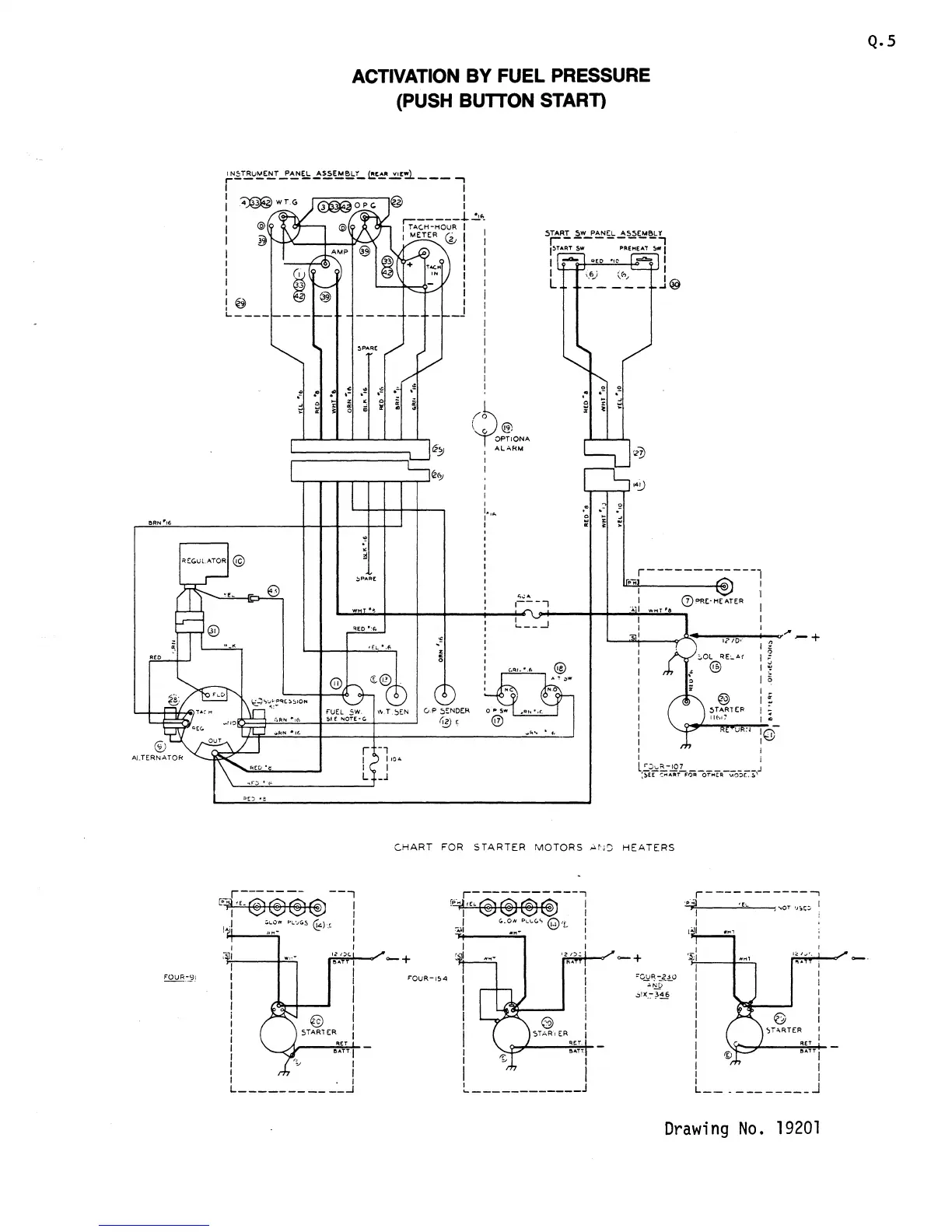
ACTIVATION BY FUEL PRESSURE
(PUSH
BUTTON
STARn
@
~
I"+~--I-~il'-::::,(
START
5w
PANEL.
ASSEMBLY
C---------,
I:)TA.RT 5W
PREH[""
:)W'I
1-
~
1
I 1
L
J@
L.
___
_
.
, .
·
.
.
<
,0
,-
,-
.-
.-
"
~
·
~
@
~
°
\ ®
~=====:::;LJI2~
~
OPfiONA
;
ALARM
I
~ED
"$
r-------
---,
[o~.E-®®®®
i
1",1
~JI..HQ.W
~L'-'G.S
(J':,)
'.~
:
I
:<1
I
I
I
I
1
: @
t STAR1 ER
I
I
I
An
:
.ATT
I
I I
I I
I _ I
L
___________
..J
<
.-
.
o
G-P
S~NDE~
(~,
I
,.
0
.
«
0
.
r------------l
p"j:i I
: I
I
I
I
L--...:~--_>,A~--;:,i'!":/;CO;:',
-
......
;-""'",.
- +
I
I I
I @
I
.5TARTER
I
I 11(-,1; t &I
i
u"
I@-
I I
I I
I i
l:~;t:~-J1.l
..
V;~-OTMTA-~';SE:'~\J
CHART
FOR
STARTER
MOTORS
,:.r,C)
HEATERS
,------------,
r~'E'@@®®
i
~I
(,.~:.PLLC.~
@IL
~
I
I I
, I
1
I
I
I
I
I
I
I I
I I
L.
____________
J
r-
---
---
------,
41
'
'0'
"'"
I
I
,·1
I
'~I
I
I
I
I
I
I
I
I
I
I
I
I
I
L
__
6
.,T~RT£R
"£'
MTT
I
I
I
_________
J
Drawing
No.
19201
Q.5

Other manuals for Westerbeke 50

Related product manuals