EasyManua.ls Logo

Westerbeke 50 - Page 60

Westerbeke 50
119 pages
Print Icon
To Next Page IconTo Next Page
To Next Page IconTo Next Page
To Previous Page IconTo Previous Page
To Previous Page IconTo Previous Page
Loading...
1-
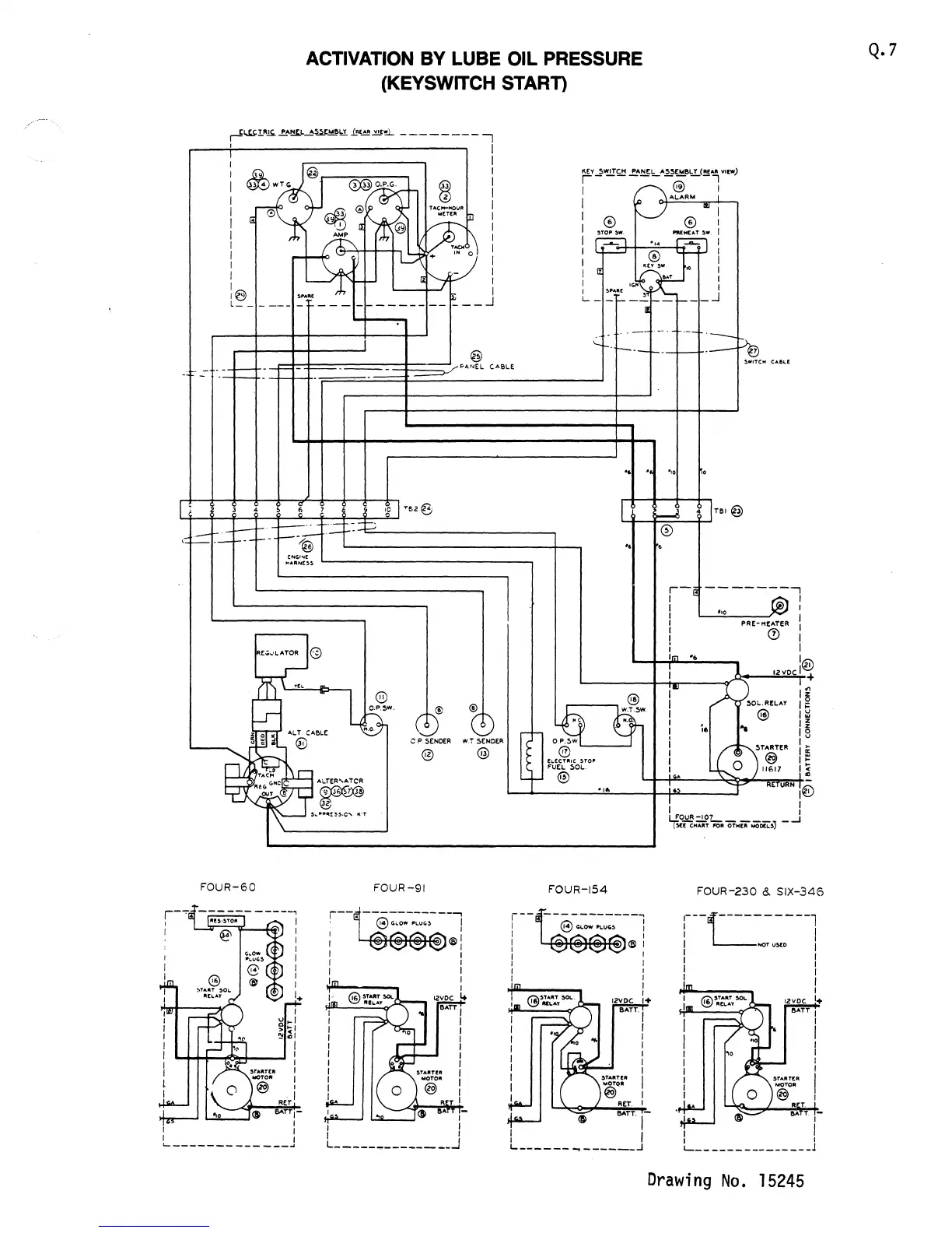
ACTIVATION BY LUBE OIL PRESSURE
(KEYSWITCH START)
._-
'-
'-
-~
t---t---r----I_~_
~W'TCH
C,t,toLE
-
-+--
--+-
-
t----
--f--
-
-r-
'-
--;===-:..:-
-===t:-=
--====--
________
-.l
"
'.
'"
"
3
4
>
1
7
~
J.B2
8
I
i--
4
TO'
@
-.-
:;
f..---f-
r-----
®
~
-
f----;--
.-
,
--
f--
1--
~
-,
,
EN~r'-le
......
RN!~~
FOUR-60
-----------,
1
1
1
1
1
1
1
1
I.
®
®
C P
SENDER
W T SENDER
@
FOUR
-91
r--.-----------
1
, e
~1..0W
pl..ur;$ I
, '
1
®:
1 1
1 I
1 1
1 1
1
1
'+
1 1
1 1
L
______________
J
@
@
~
~w
@
'------'
£I..ECTllIIC
)fOJi
FUEL
SOL.
@
"~
FOUR-154
I
I I
L
______
-..
______
.J
FOUR-230
&.
SIX-346
!---l----------l
I
NOT
u5tO
I
I 1
1 1
I 1
1 I
1
,+
I
1 I
I I
'----------------~
Drawing
No.
15245
Q.7

Other manuals for Westerbeke 50

Related product manuals