EasyManua.ls Logo

Wheaton UniSpense PRO Series - Advanced Dispensing Features; Making a Dispense

Default Icon
35 pages
Print Icon
To Next Page IconTo Next Page
To Next Page IconTo Next Page
To Previous Page IconTo Previous Page
To Previous Page IconTo Previous Page
Loading...
WHEATON
®
OmniSpense
®
ELITE Peristaltic Pump
WHEATON | 800.225.1437 (U.S. & Canada Only) | 856.825.1100 | www.wheaton.com | P/N 50099067 Rev. 5/15/12 WMAN_001
17
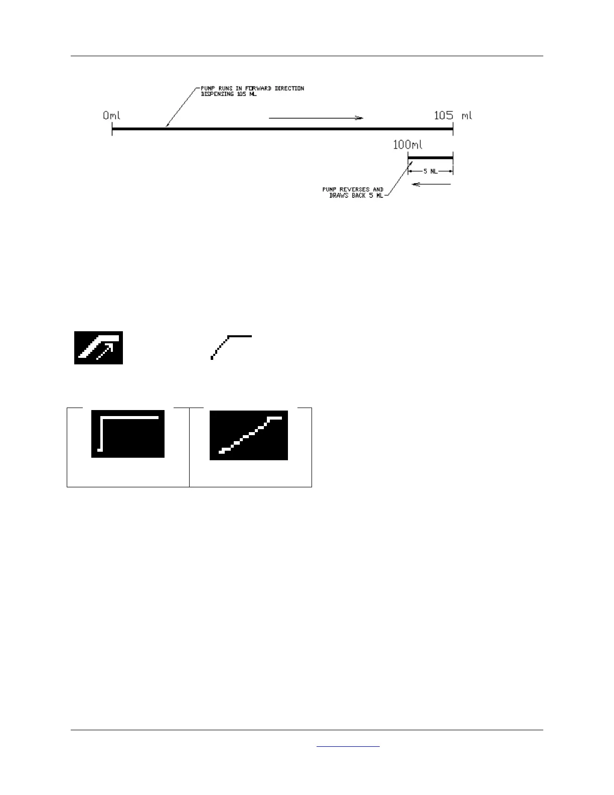
Example 1: Dispense Volume set to 100 mL, Drawback Volume set to 5 mL
Use the UP and DOWN and the LEFT and RIGHT keys to enter the drawback volume. Press OK when
done.
11.6 Soft Start / Ramping
Use the UP and DOWN keys to navigate to the Ramp icon:
Press the RIGHT key then use the UP and DOWN keys to set the starting ramp:
No ramping
Maximum ramping
Press OK when done.
11.7 Making a Dispense
Press the START / STOP button to start a batch dispense:

Table of Contents

Related product manuals